Partiron

Yamaha SJ700BV (SUPER JET) F4DN 2020 ELECTRICAL 2 Diagram

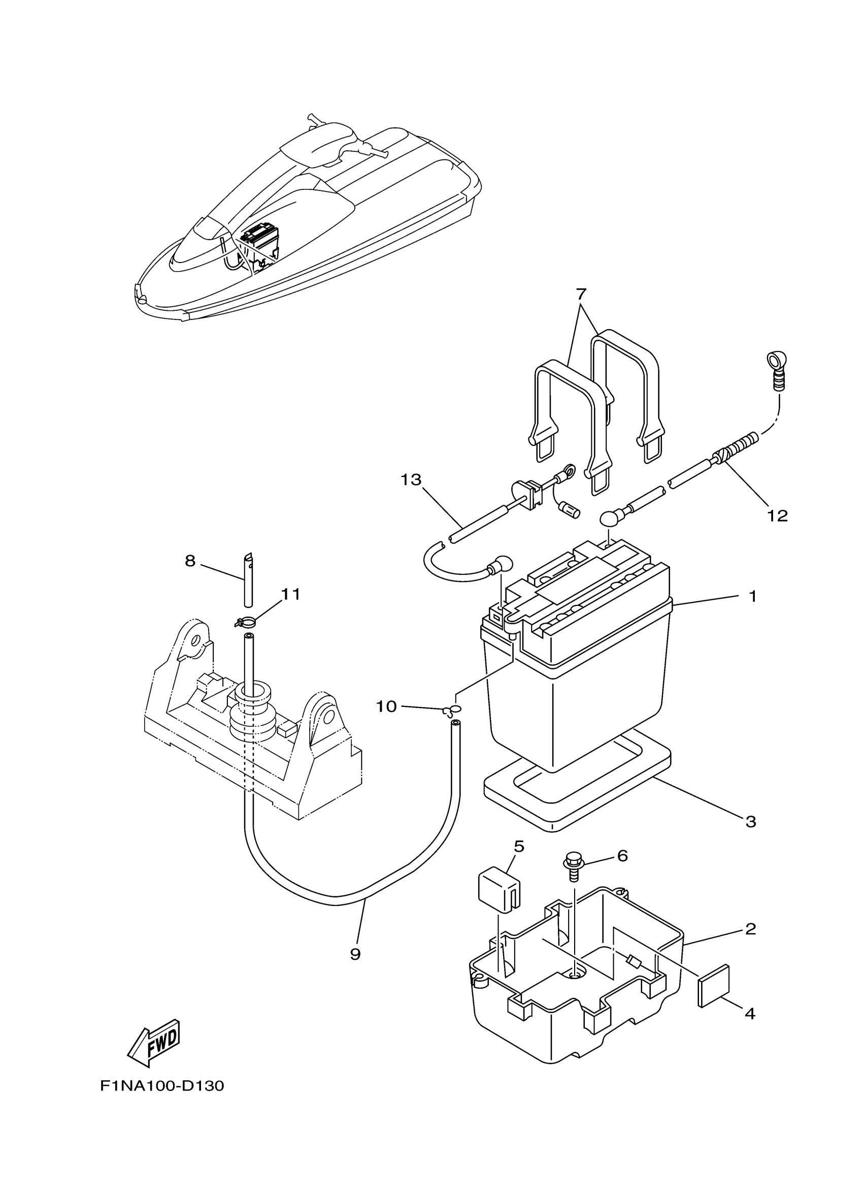
#

Description
Price

1

BATTERY ASSY

EU0-82110-08-00

Unavailable

2

CASE, BATTERY

EW2-68211-00-00

Unavailable

3

PAD, BATTERY 1

EU0-68221-00-00

Unavailable

4

PAD, BATTERY 2

EU0-68221-30-00

Unavailable

5

PAD, BATTERY

EW2-68221-00-00

Unavailable

6

BOLT WITH WASHER (EW2)

90119-06920-00

$7.49

7

BAND,BATTERY

EU0-68218-04-00

Unavailable

8

PIPE, VENTILATION 1

EW2-62149-00-00

Unavailable

9

HOSE

90699-50085-00

Unavailable

10

CLIP

90467-08M10-00

Unavailable

11

CLAMP

90465-10098-00

Unavailable

12

WIRE, LEAD

64V-82117-00-00

Unavailable

13

WIRE, LEAD

6R7-82117-11-00

Unavailable