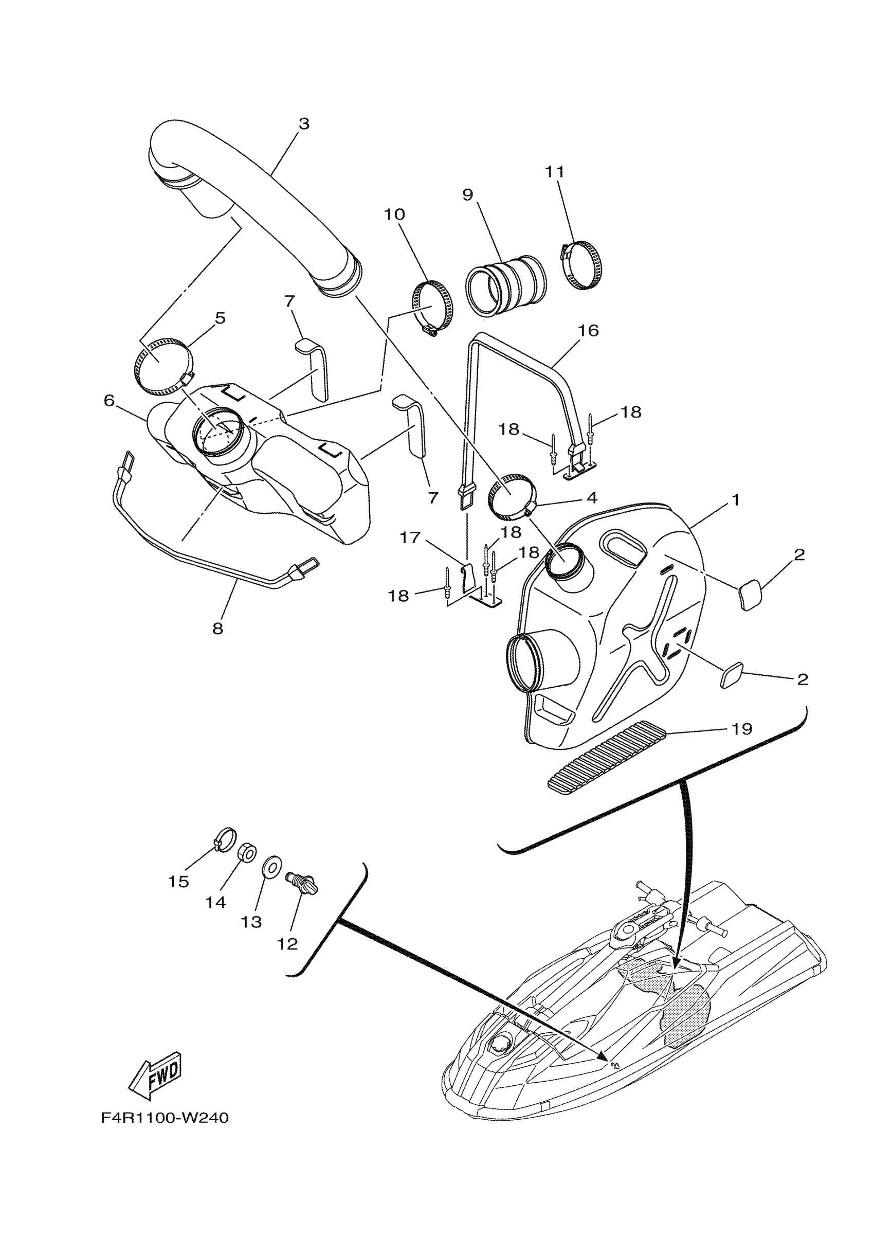
Yamaha SJ1050Y (SUPER JET) F4R3 2023 EXHAUST 3 Diagram
#
Description
Price
1
WATER LOCK COMP.
F4R-67550-00-00
Unavailable
2
MAT,WATER LOCK
F4R-6755J-00-00
Unavailable
3
HOSE, EXHAUST
F4R-67555-00-00
Unavailable
4
BAND,HOSE 75(GR7)
90601-17586-00
Unavailable
5
BAND, HOSE 95
90601-19584-00
Unavailable
6
TANK, WATER
F4R-64261-00-00
Unavailable
8
BAND, FUEL TANK
EW2-67821-00-00
Unavailable
9
HOSE,EXHAUST 3
F4R-6758D-00-00
Unavailable
10
BAND,HOSE 75(GR7)
90601-17586-00
Unavailable
11
BAND,HOSE 75(GR7)
90601-17586-00
Unavailable
13
GASKET
F1B-67564-00-00
Unavailable
14
NUT
F0X-62733-00-00
Unavailable
15
CLIP
90467-150A5-00
Unavailable
16
HOOK A
F4R-6577C-00-00
Unavailable
17
HOOK B
F4R-6576B-00-00
Unavailable
18
RIVET, SEALD
90267-48930-00
Unavailable
19
MAT
F4R-63844-00-00
Unavailable
