- Partiron
- OEM Parts
- Yamaha
- waverunner
- 2021
- SJ1050W (SUPER JET) F4R1 2021
ELECTRICAL 2
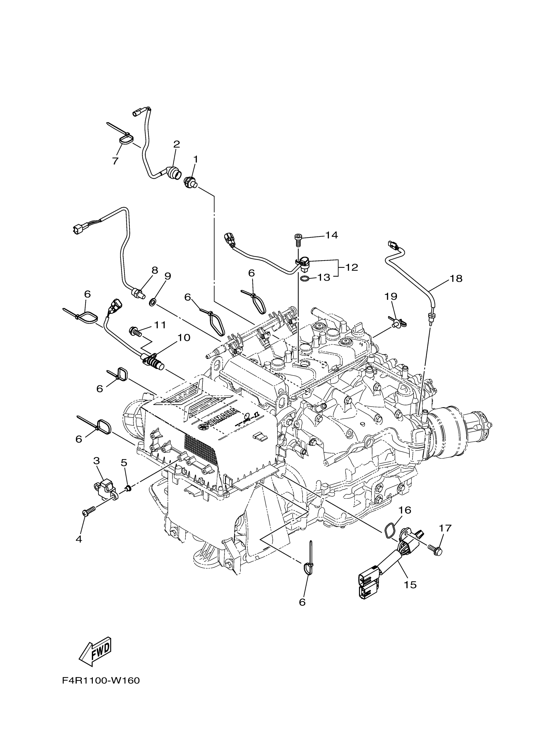
Yamaha SJ1050W (SUPER JET) F4R1 2021 ELECTRICAL 2 Diagram
#
Description
Price
1
OIL PRESSURE SWITCH ASSY
68V-82504-00-00
Unavailable
2
LEAD WIRE ASSY
60E-81315-01-00
Unavailable
3
SENSOR, LEAN ANGLE
6ET-82576-00-00
Unavailable
4
SCREW, TAPPING
97780-60025-00
Unavailable
5
COLLAR
90387-06M05-00
Unavailable
8
THERMOSENSOR ASSY
61A-85790-01-00
Unavailable
9
WASHER, PLATE
92990-10600-00
Unavailable
10
THERMO SWITCH ASSY
6CR-82560-00-00
Unavailable
11
BOLT, HEXAGON W/W DEEP RECESS
97E95-06520-00
Unavailable
12
SENSOR, CAM POSITI
2S3-85896-02-00
Unavailable
14
BOLT,SOCKET
91380-06016-00
Unavailable
15
EARTH PLATE COMP.
6CS-8273J-11-00
Unavailable
16
O-RING (341)
93210-32172-00
Unavailable
17
BOLT, WITH WASHER
90119-06MA3-00
Unavailable
18
THERMOSENSOR ASSY
6DE-85790-00-00
Unavailable
19
CLAMP
90464-20005-00
Unavailable
