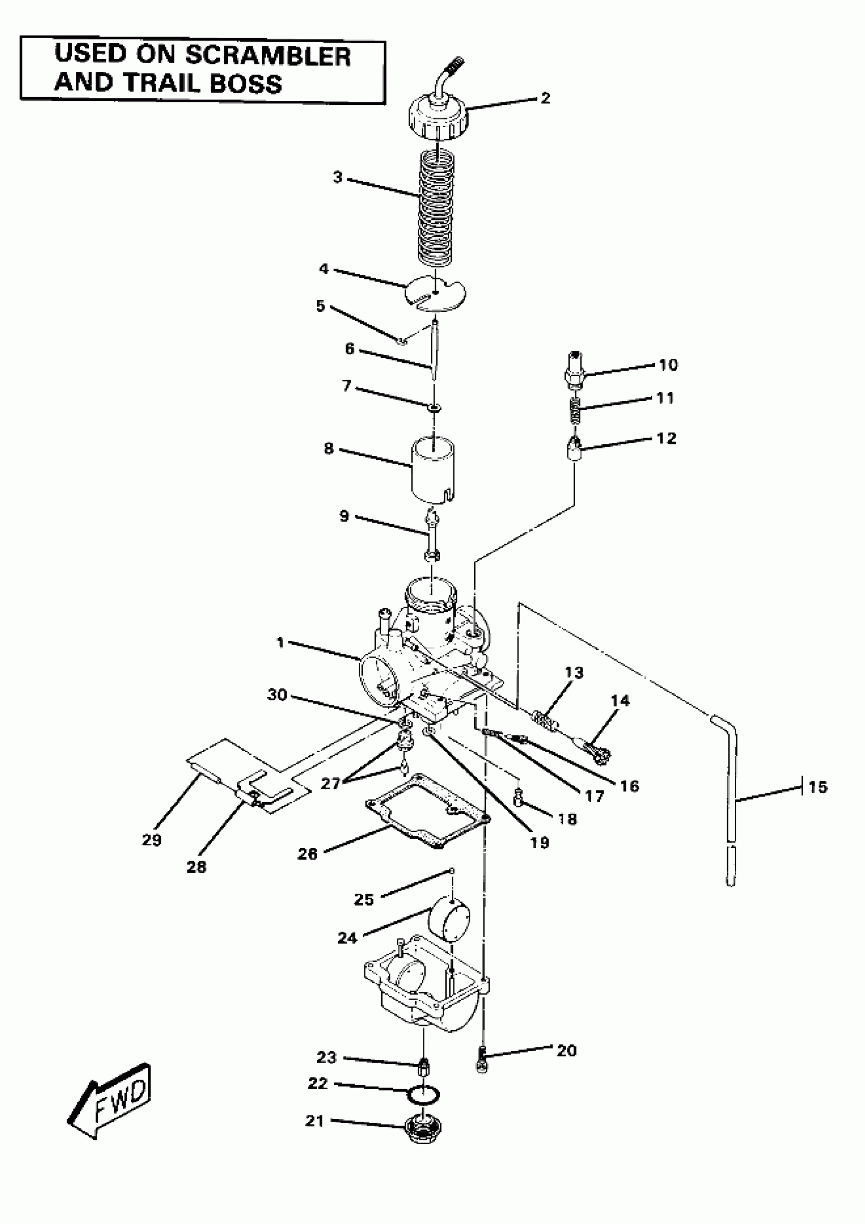
Polaris SCRAMBLER - W867027 Carburetor Assembly (4911991199048A) Diagram
#
Description
Price
1
CARBURETOR Substituted by 3130424
3130383
Unavailable
2
CAP ASM.
3130363
Unavailable
5
E RING(10) Substituted by 3130508
3130003
Unavailable
9
NEEDLE JET,O-0(169) (169)
3130385
Unavailable
15
HOSE [No Longer Available]
3130362
Unavailable
16
SCREW,AIR Substituted by 3130011
3130233
Unavailable
22
O RING
3130239
Unavailable
23
JET,MAIN,HX.HD.#145
3130112
Unavailable
