- Partiron
- OEM Parts
- Polaris
- ATV
- 1997
- SCRAMBLER 500 - W97BC50A
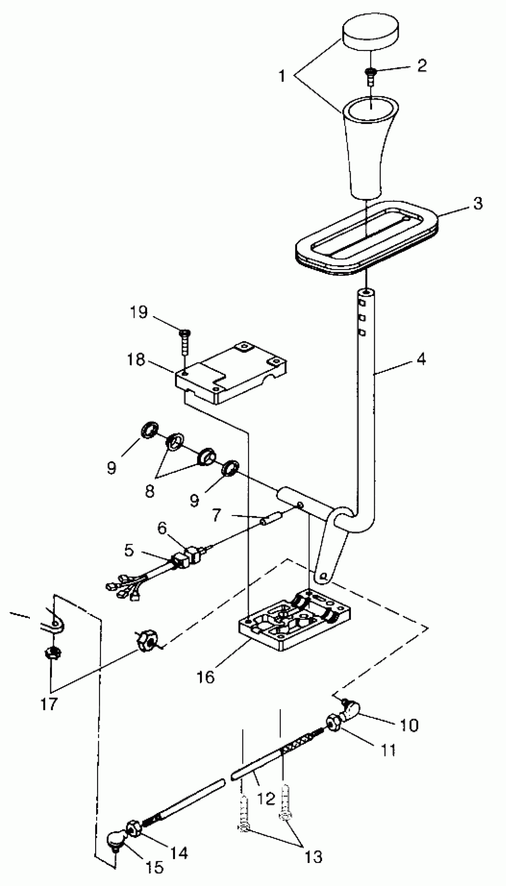
GEAR SELECTOR Scrambler 500 W97BC50A (4943074307C011)
Polaris SCRAMBLER 500 - W97BC50A GEAR SELECTOR Scrambler 500 W97BC50A (4943074307C011) Diagram
#
Description
Price
-
SELECTOR ASM,GEAR (Incl. 1-9, 16, 18, 19)
1341204
Unavailable
3
GROMMET,HR SHIFTER
5411008
Unavailable
4
HANDLE,SUBASM
3233459
Unavailable
7
SWITCH,SENSOR
3233168
Unavailable
8
BEARING
3233169
Unavailable
9
O-RING,SHAFT [No Longer Available]
1610030
Unavailable
9
O-RING,SHAFT [No Longer Available]
1610030
Unavailable
16
PLATE,BASE,HR SHIFTER
3233170
Unavailable
17
NUT(10) Substituted by 7546703
7546707
Unavailable
18
PLATE,TOP,HR SHIFTER
3233171
Unavailable
