- Partiron
- OEM Parts
- Polaris
- ATV
- 2001
- SCRAMBLER 50 - A01EA05CA
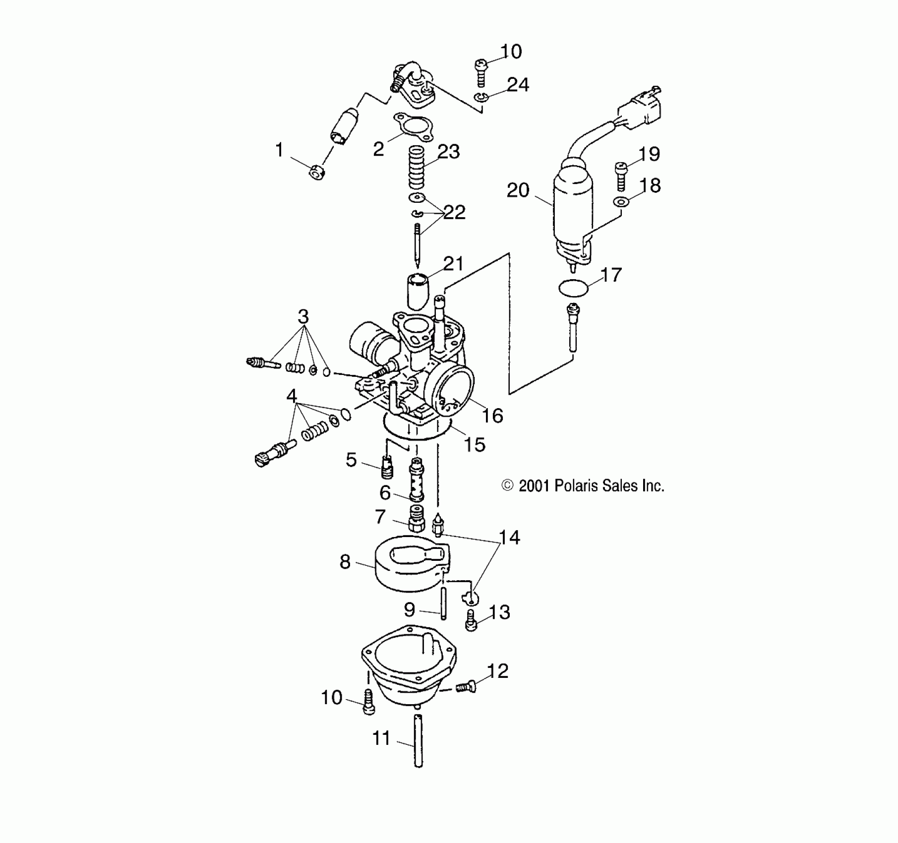
CARBURETOR - A01EA05CA (4964326432A008)
Polaris SCRAMBLER 50 - A01EA05CA CARBURETOR - A01EA05CA (4964326432A008) Diagram
#
Description
Price
3
Screw Set, Air Adjust
0450102
Unavailable
4
Screw Set, Throttle
0450113
Unavailable
5
Jet, Pilot
0450100
Unavailable
7
Nozzle, Main
0450096
Unavailable
9
Pin, Float
0450117
Unavailable
11
Tube, Overflow
0450098
Unavailable
13
Bolt, Pan, Phillips
0450108
Unavailable
16
Asm., Carburetor (Incl. 1-23)
0450080
Unavailable
18
Washer, Plain
0450107
Unavailable
20
Plunger, Starter (Incl. 16)
0450109
Unavailable
21
Valve, Throttle
0450088
Unavailable
22
Needle Set
0450090
Unavailable
23
Spring, Throttle Stop
0450084
Unavailable
24
Washer, Spring
0450087
Unavailable
