- Partiron
- OEM Parts
- Polaris
- ATV
- 1999
- SCRAMBLER 400 - A99BG38CA
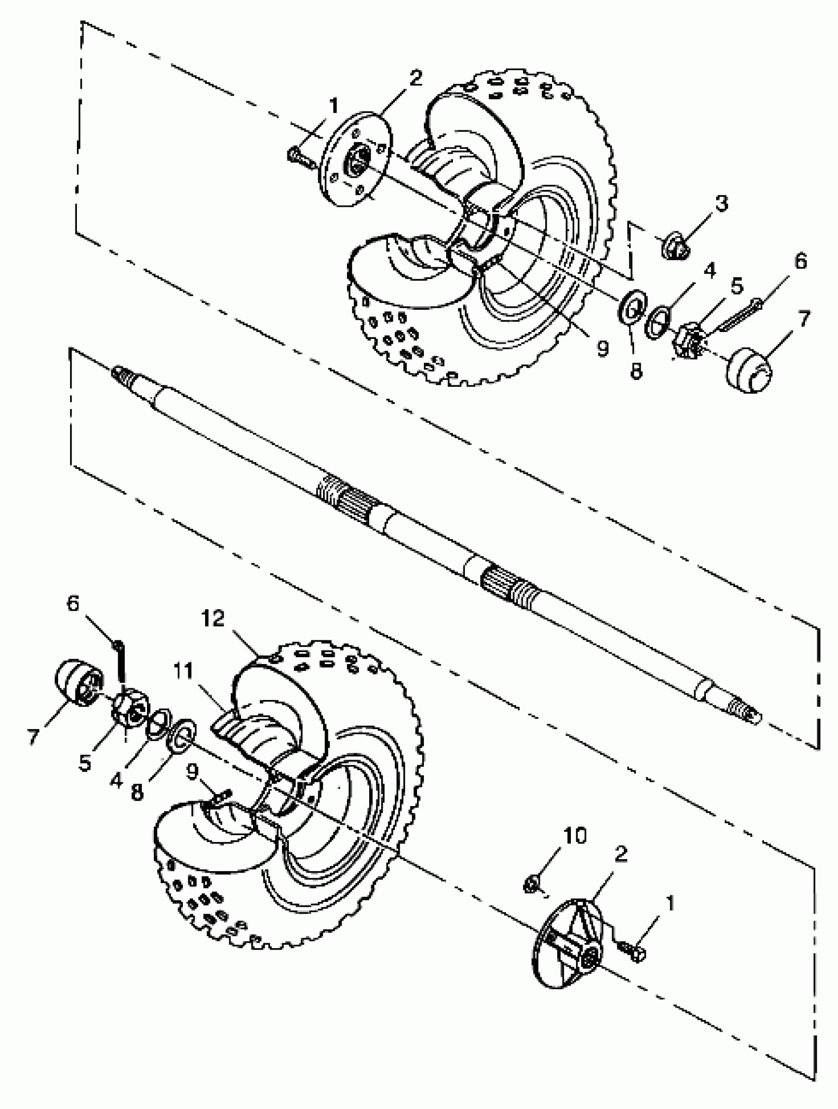
REAR WHEEL - A99BG38CA (4949664966c004)
Polaris SCRAMBLER 400 - A99BG38CA REAR WHEEL - A99BG38CA (4949664966c004) Diagram
#
Description
Price
5
NUT, CASTLE(10)
7543005
Unavailable
5
NUT, CASTLE(10)
7543005
Unavailable
11
RIM,REAR,WHITE
1520204-133
Unavailable
