- Partiron
- OEM Parts
- Polaris
- ATV
- 1997
- SCRAMBER 400L - W97BC38C
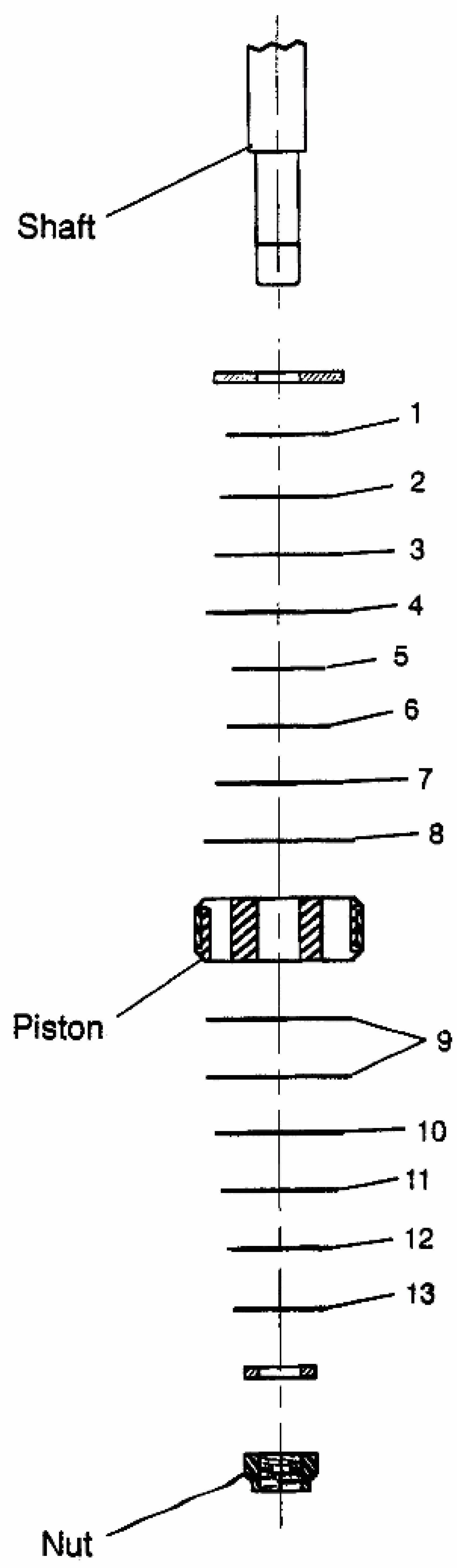
SHOCK VALVING Scrambler 400L W97BC38C (4939893989C013)
Polaris SCRAMBER 400L - W97BC38C SHOCK VALVING Scrambler 400L W97BC38C (4939893989C013) Diagram
#
Description
Price
