- Partiron
- OEM Parts
- Yamaha
- motorcycle
- 1973
- SC500 (SC500) 1973
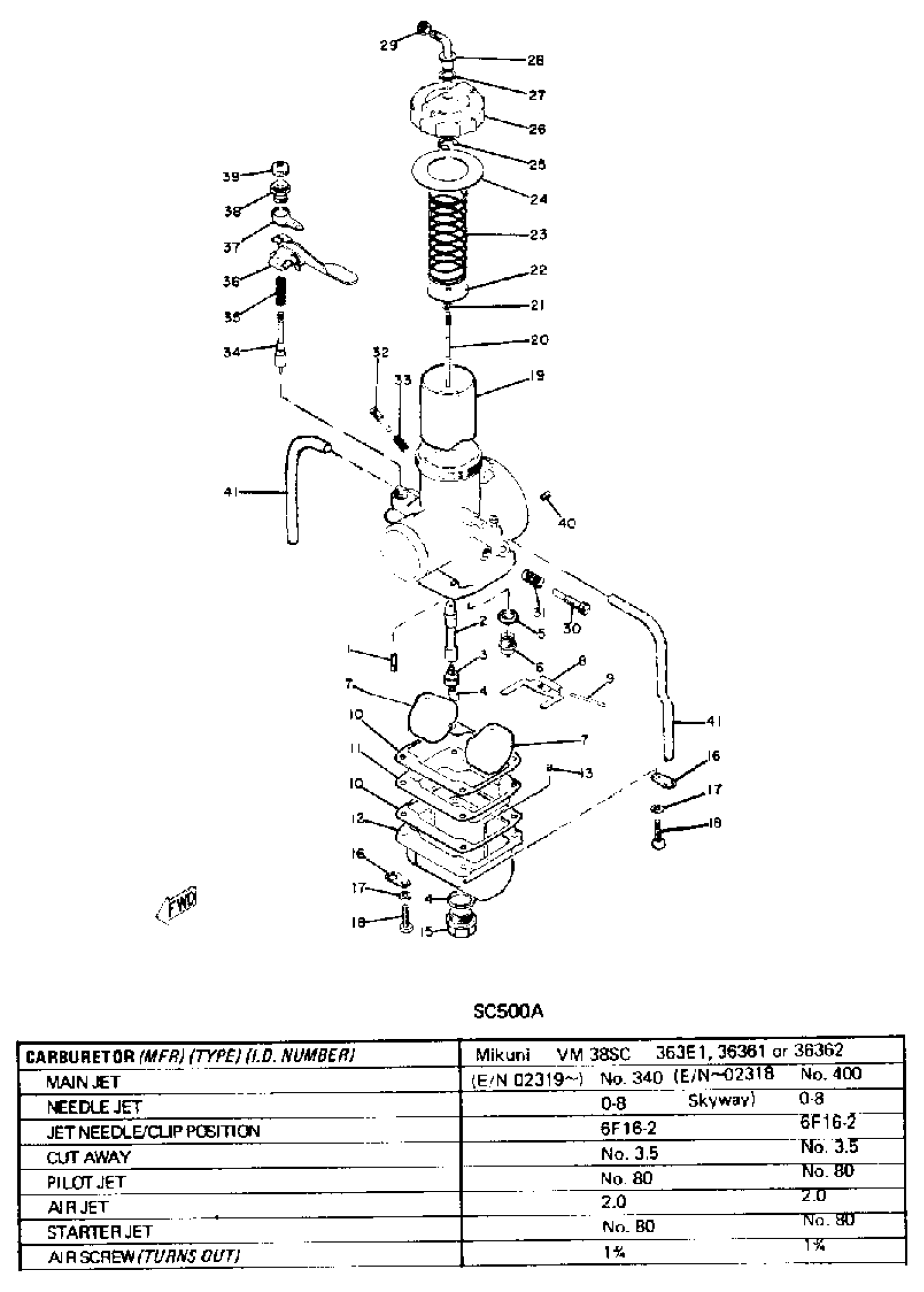
CARBURETOR
Yamaha SC500 (SC500) 1973 CARBURETOR Diagram
#
1
JET, PILOT (# 80)
193-14142-80-00
Unavailable
1
CARBURETOR ASSEMBLY 1
(363-14101-63-00)
Unavailable
2
NOZZLE, MAIN
(363-14141-38-00)
Unavailable
3
. SETTER, NEEDLE JET
363-14145-00-00
Unavailable
5
WASHER,VALVE SEAT
239-14195-00-00
Unavailable
7
. FLOAT
214-14185-00-00
Unavailable
8
. ARM, FLOAT
363-14187-00-00
Unavailable
11
PLATE
(363-14146-00-00)
Unavailable
12
BODY, FLOAT CHMBR 1
(363-14181-00-33)
Unavailable
13
CAP
214-14118-00-00
Unavailable
14
. WASHER, PLUG SCREW
239-14117-00-00
Unavailable
15
. PLUG, SCREW
363-14115-00-00
Unavailable
16
. PLATE
313-14146-00-00
Unavailable
17
YBS67-5 WASHER, SPRING
92990-05100-00
Unavailable
18
SCREW, PAN HEAD(4MY)
98507-05018-00
Unavailable
19
VALVE, THROTTLE 1
(363-14112-35-00)
Unavailable
20
. NEEDLE
239-14116-16-00
Unavailable
21
CLIP
3FA-14137-00-00
Unavailable
22
SEAT, SPRING
(363-14136-00-00)
Unavailable
23
. SPRING, THROTTLE VALVE
363-14131-00-00
Unavailable
24
. GASKET
363-14126-00-00
Unavailable
25
CLIP
363-14137-00-00
Unavailable
26
TOP, MIXING CHAMBER
(363-14158-00-33)
Unavailable
27
GASKET
363-14198-00-00
Unavailable
28
. GUIDE, CABLE
363-14155-00-00
Unavailable
29
NUT, WIRE ADJUSTING
127-14161-00-00
Unavailable
30
THROTTLE SCREW SET
23X-14103-00-00
Unavailable
30
THROTTLE SCREW SET
40T-14103-00-00
Unavailable
31
SPRING, THROTTLE STOP
137-14133-00-00
Unavailable
32
AIR SCREW SET
23X-14104-00-00
Unavailable
33
SPRING, AIR ADJUSTING
127-14134-00-00
Unavailable
34
. PLUNGER, STARTER
174-14171-00-00
Unavailable
35
. SPRING, PLUNGER
256-14135-00-00
Unavailable
36
LEVER, STARTER 1
(310-14175-00-00)
Unavailable
37
. PLATE, STARTER LEVER
275-14178-00-00
Unavailable
38
. CAP, PLUNGER
802-14174-00-00
Unavailable
39
. COVER, PLUNGER CAP
802-14173-00-00
Unavailable
40
PILOT JET, AIR #20
(237-14172-20-00)
Unavailable
41
HOSE
89A-14987-00-00
Unavailable
