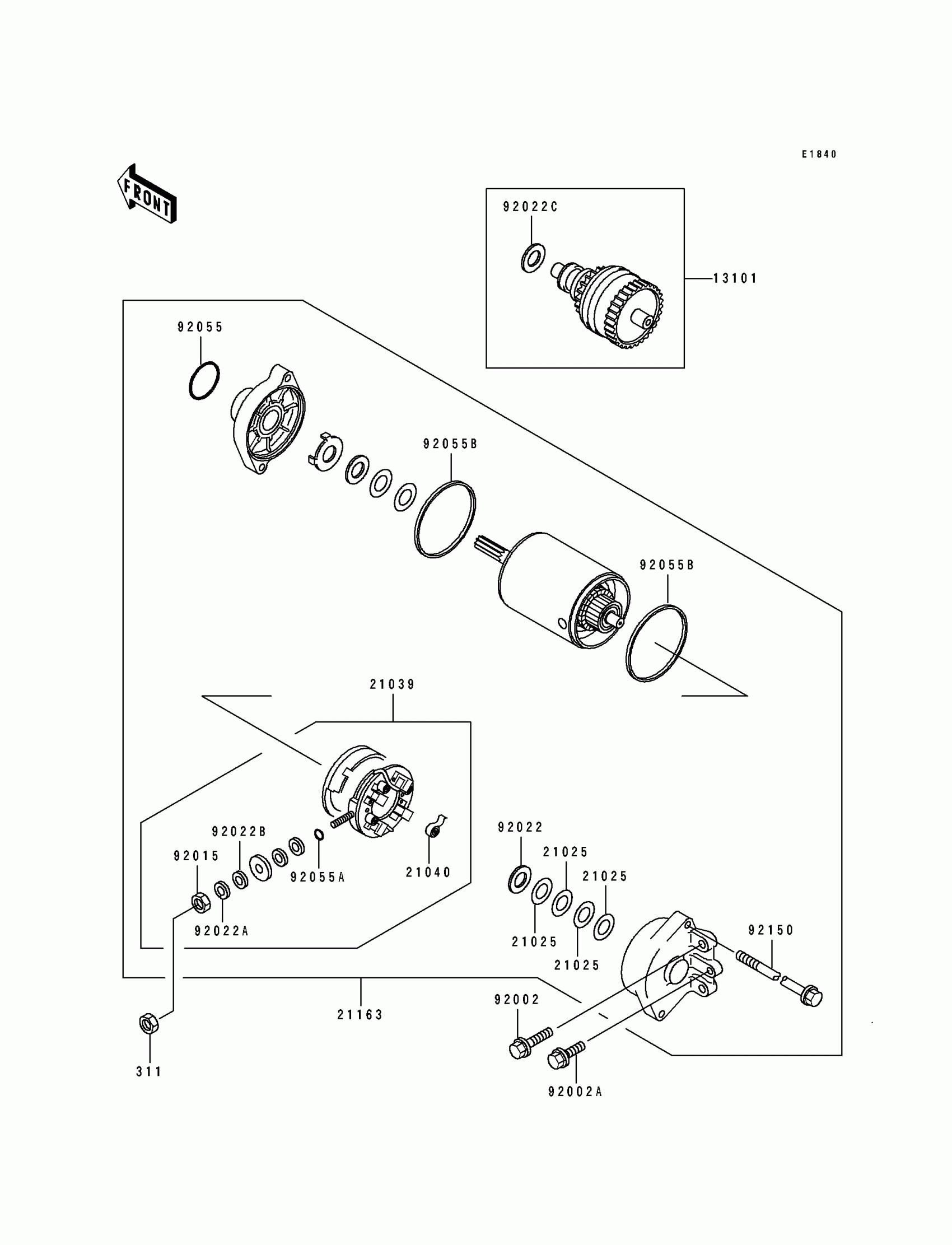
Partiron

Kawasaki SC Starter Motor Diagram

#

Description
Price

13101

GEAR-ASSY

13101-3705

Unavailable

21025

WASHER,9.1X18X0.2

21025-011

$6.22

21039

BRUSH,CARBON

21039-3703

$84.32

21040

SPRING-BRUSH

21040-1055

$8.42

21163

STARTER-ELECTRIC

21163-3709

$600.85

92002

BOLT,6X25

92002-3714

$5.00

92002A

BOLT,6X12

92002-3763

$4.69

92015

NUT,6MM

92015-3710

$4.18

92022

WASHER,9.1X18X0.8

92022-1132

$6.22

92022A

WASHER,6MM

92022-3711

$4.18

92022B

WASHER,6MM

92022-3713

$2.67

92022C

WASHER,12X24X1.0

92022-3731

$6.57

92055

RING-O

92055-1276

$9.91

92055A

RING-O,4.5X2.0

92055-1370

$4.69

92055B

RING-O,STARTER MOTOR

92055-1381

$9.91

92150

BOLT

92150-3772

$26.21

311

NUT-HEX,6MM

311R0600

$0.70