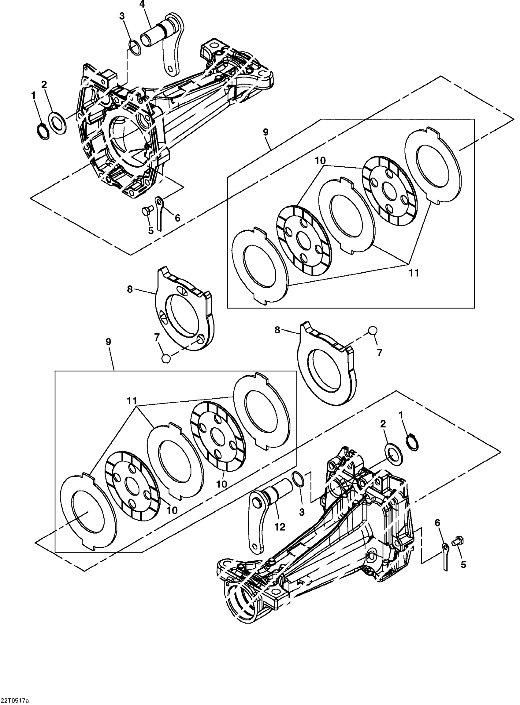
#
1
DCH17291
Unavailable
2
DM810560
Unavailable
3
DCH14583
Unavailable
4
DAM881348
Unavailable
5
D19M7300
Unavailable
6
DM810566
Unavailable
7
DCH17524
Unavailable
8
DM810561
Unavailable
9
DAM881346
Unavailable
10
Unavailable
11
Unavailable
12
DAM881347
Unavailable
Edit ride
