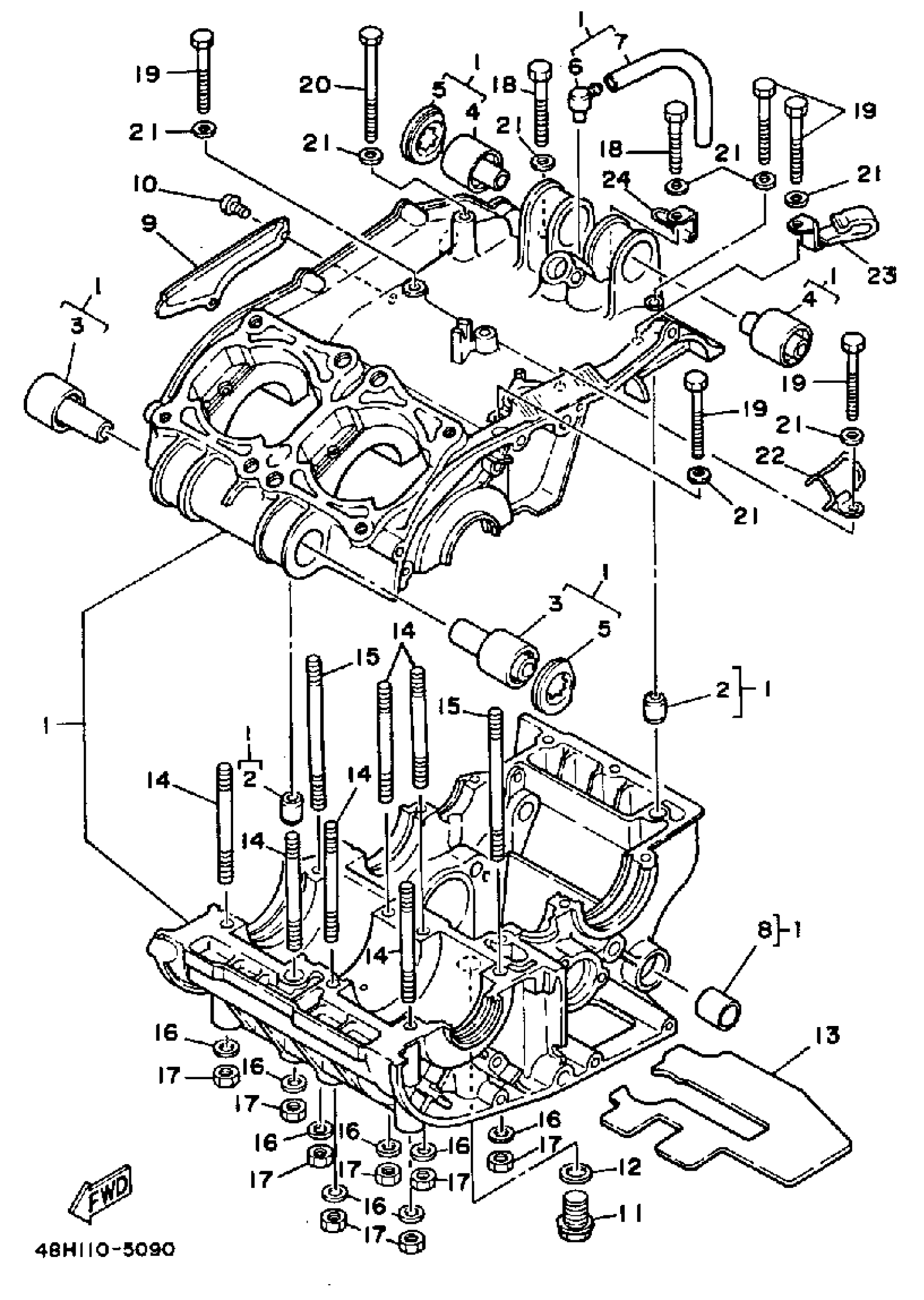
Yamaha RZ350NCII (RZ350II CA) 1985 CRANKCASE Diagram
#
Description
Price
1
CRANKCASE ASSEMBLY
29L-15100-03-00
Unavailable
5
SPACER, DAMPER
2YK-15328-01-00
Unavailable
10
SCREW, PAN HEAD(62X)
97885-05010-00
Unavailable
13
COLLAR
(48H-15337-00-00)
Unavailable
16
WASHER, PLATE (397)
90201-08100-00
Unavailable
17
NUT(6L2)
95333-08600-00
Unavailable
18
BOLT, HEXAGON
97013-06045-00
Unavailable
19
BOLT, HEXAGON
97013-06060-00
Unavailable
20
BOLT(3GG)
97017-06090-00
Unavailable
21
YBS66-6 WASHER, PLAIN
92990-06200-00
Unavailable
22
CLAMP (29L)
90462-16130-00
Unavailable
23
CLAMP
90465-08135-00
Unavailable
24
CLAMP (1A0)
90465-06094-00
Unavailable
