- Partiron
- OEM Parts
- Yamaha
- motorcycle
- 1984
- RZ350L (RZ350) 1984
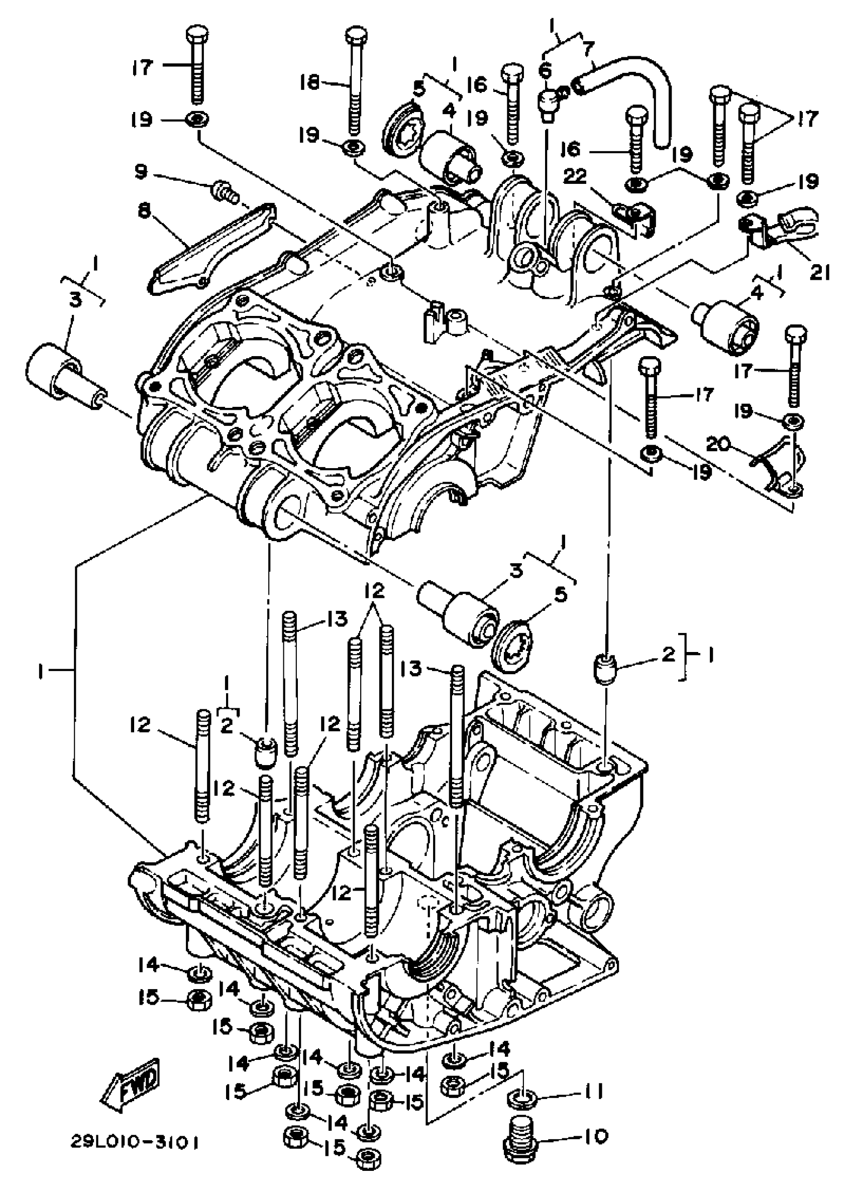
CRANKCASE
Yamaha RZ350L (RZ350) 1984 CRANKCASE Diagram
#
Description
Price
1
CRANKCASE ASSEMBLY
29L-15100-03-00
Unavailable
5
SPACER, DAMPER
2YK-15328-01-00
Unavailable
9
SCREW, PAN HEAD(62X)
97885-05010-00
Unavailable
16
BOLT, HEXAGON
97013-06045-00
Unavailable
17
BOLT, HEXAGON
97013-06060-00
Unavailable
18
BOLT(3GG)
97017-06090-00
Unavailable
19
YBS66-6 WASHER, PLAIN
92990-06200-00
Unavailable
20
CLAMP (29L)
90462-16130-00
Unavailable
21
CLAMP
90465-08135-00
Unavailable
22
CLAMP (1A0)
90465-06094-00
Unavailable
