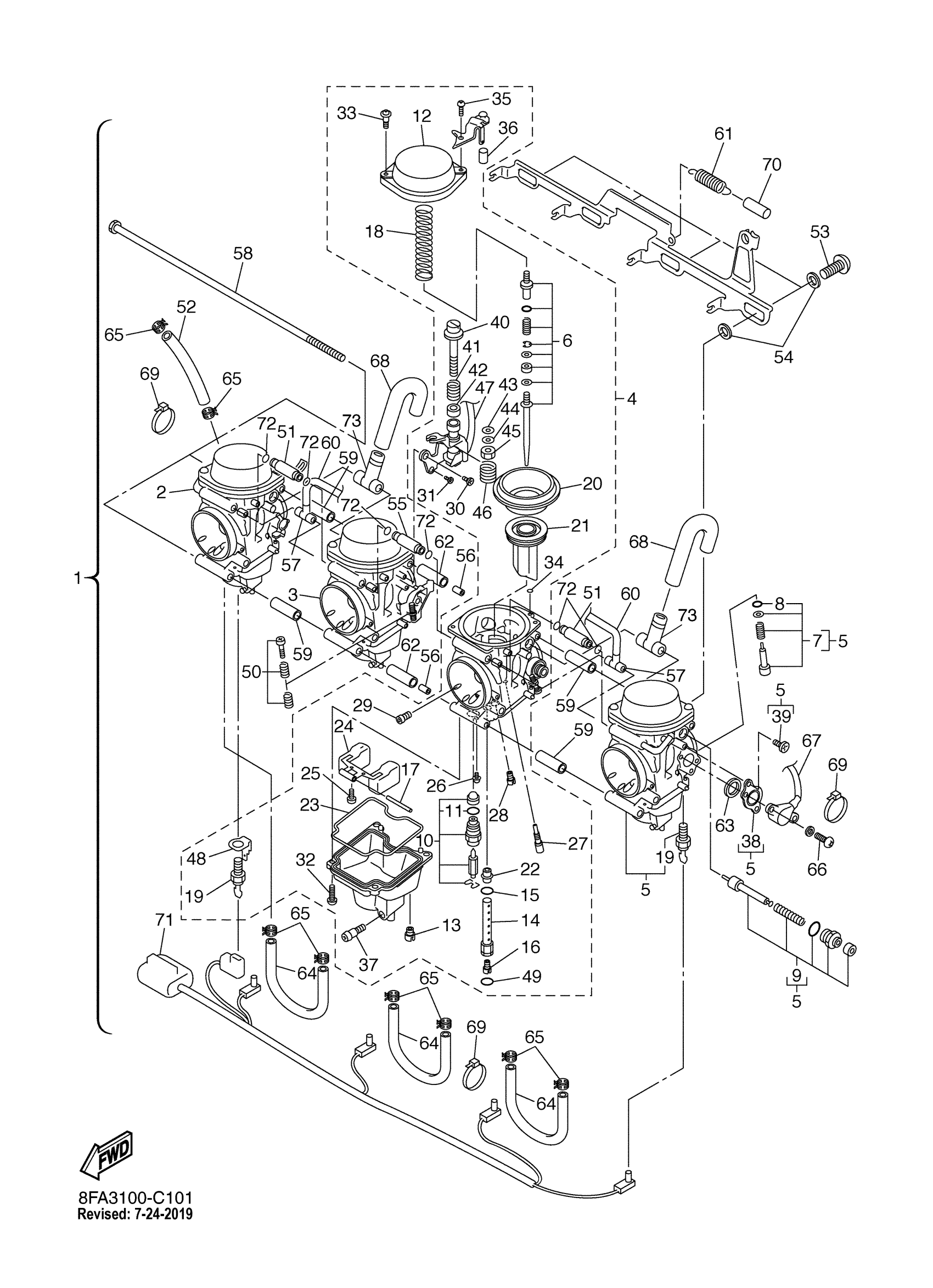
Yamaha RX10SJ (RX-1 LIMITED EDITION) 8EU3 2004 CARBURETOR Diagram
#
1
CARBURETOR ASSY
8FA-14900-02-00
Unavailable
2
. CARBURETOR ASSY 1
8FA-14901-01-00
Unavailable
3
. CARBURETOR ASSY 2
8FA-14902-01-00
Unavailable
4
. CARBURETOR ASSY 3
8FA-14903-01-00
Unavailable
5
. CARBURETOR ASSY 4
8FA-14904-01-00
Unavailable
12
.. COVER, DIAPHRAGM
5EA-14958-00-00
Unavailable
14
.. HOLDER
8FA-14261-10-00
Unavailable
16
JET, MAIN (#130)
3G2-14231-26-A0
Unavailable
16
JET, MAIN (#135)
3G2-14231-27-00
Unavailable
16
JET, MAIN (#140)
3G2-14231-28-00
Unavailable
16
JET,MAIN #127.5
3G2-1423A-76-00
Unavailable
16
JET,MAIN #132.5
3G2-1423A-77-00
Unavailable
16
JET,MAIN #137.5
3G2-1423A-78-00
Unavailable
17
PIN, FLOAT
127-14186-00-00
Unavailable
18
.. SPRING, DIAPHRAGM
5EA-14933-00-00
Unavailable
19
HEATER ASSY
5FU-83790-20-00
Unavailable
20
DIAPHRAGM ASSY
8FA-14940-00-00
Unavailable
21
VALVE, THROTTLE 1
5EL-14112-00-00
Unavailable
22
NOZZLE, MAIN
8FA-14141-44-00
Unavailable
23
O-RING
5DM-14561-00-00
Unavailable
24
.. FLOAT
8FA-14985-00-00
Unavailable
25
SCREW, PAN HEAD(JG1)
98507-04008-00
Unavailable
26
SCREW
1FN-14565-00-00
Unavailable
27
JET, PILOT (# 17.5)
4KM-14142-17-00
Unavailable
28
JET, MAIN (# 75)
3G2-14231-15-00
Unavailable
29
JET, MAIN (#140)
1HX-14231-28-00
Unavailable
30
SCREW,FLAT
98707-05008-00
Unavailable
31
SCREW, FLAT
98707-04008-00
Unavailable
32
SCREW, PAN HEAD (E56)
98580-04010-00
Unavailable
33
SCREW
4KM-14216-00-00
Unavailable
33
SCREW
4KM-14216-00-00
Unavailable
34
O-RING (493-CARB.)
354-14147-00-00
Unavailable
35
SCREW, PAN HEAD(JJ6)
98507-05016-00
Unavailable
36
RING
4KM-14194-00-00
Unavailable
37
PLUG, DRAIN
4KP-14191-00-00
Unavailable
38
BRACKET
5EL-14995-10-00
Unavailable
39
SCREW, FLAT
98707-04008-00
Unavailable
40
SCREW, THROTTLE
8CC-14122-00-00
Unavailable
41
SPRING
8X0-14500-00-00
Unavailable
42
RING
8X0-14184-00-00
Unavailable
43
WASHER, PLUG SCREW
22F-14117-00-00
Unavailable
44
. WASHER
1UF-14952-00-00
Unavailable
45
NUT
89A-14594-00-00
Unavailable
46
SPRING, THROTTLE STOP
8X0-14133-00-00
Unavailable
47
SWITCH, CARBURETOR
87S-8259A-01-00
Unavailable
48
TERMINAL 1
8FA-82103-00-00
Unavailable
49
.. O-RING
22U-14561-00-00
Unavailable
50
STOP SCREW SET
4KM-1490K-00-00
Unavailable
51
. PIPE
8FA-14149-10-00
Unavailable
52
. HOSE
8FA-14987-00-00
Unavailable
53
SCREW
4XV-24453-00-00
Unavailable
54
PACKING
4NK-14327-00-00
Unavailable
55
PIPE
8FA-14148-10-00
Unavailable
56
. ROD
5EA-14577-00-00
Unavailable
57
PIPE
5DM-14396-10-00
Unavailable
58
. SCREW
4SV-14592-00-00
Unavailable
59
PIPE
5EA-14148-00-00
Unavailable
60
. HOSE
8FA-1410E-00-00
Unavailable
61
. SPRING
4SV-14935-00-00
Unavailable
62
PIPE
5EA-14996-00-00
Unavailable
63
WASHER
4KG-14285-00-00
Unavailable
64
. HOSE
8FA-14987-10-00
Unavailable
65
CLIP (3G0)
90467-10039-00
Unavailable
66
SCREW, PAN HEAD
98517-04012-00
Unavailable
67
THROTTLE SENSOR ASSY
4XY-85885-01-00
Unavailable
68
. PIPE
8FA-14197-00-00
Unavailable
69
CLIP, PIPE
35H-14139-00-00
Unavailable
70
SEAT, SPRING
5DM-14936-00-00
Unavailable
71
. WIRE, SUB LEAD
8FA-81517-00-00
Unavailable
72
. O-RING
8FA-14561-00-00
Unavailable
73
. NIIPLE
8FA-14251-00-00
Unavailable
