- Partiron
- OEM Parts
- Yamaha
- snowmobile
- 2010
- RX10RZW (APEX) 8FRA 2010
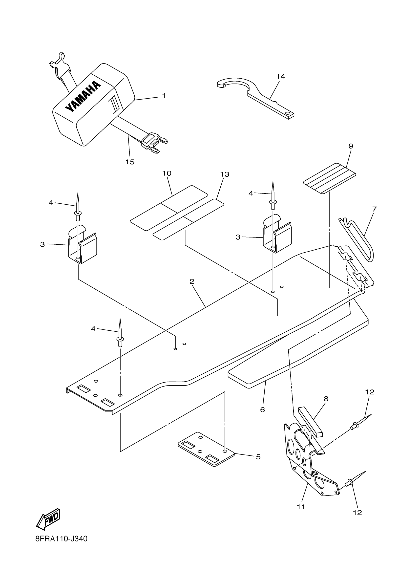
GUARD LUGGAGE BOX
Yamaha RX10RZW (APEX) 8FRA 2010 GUARD LUGGAGE BOX Diagram
#
Description
Price
1
TOOL KIT
8FP-28100-10-00
Unavailable
5
PROTECTOR
8FP-77373-00-00
Unavailable
6
DAMPER 1
8FP-77461-00-00
Unavailable
10
LABEL 1
8ES-47578-00-00
Unavailable
11
HOOK
8FA-21973-00-00
Unavailable
13
LABEL, CAUTION
8FP-1417E-01-00
Unavailable
14
SPANNER, SPECIAL
2NK-28135-00-00
Unavailable
15
BAND
8JA-2811G-00-00
Unavailable
