Yamaha RX10RSK (RX-1 ER LIMITED EDITION) 8FY11 2005 OIL PUMP Diagram
#
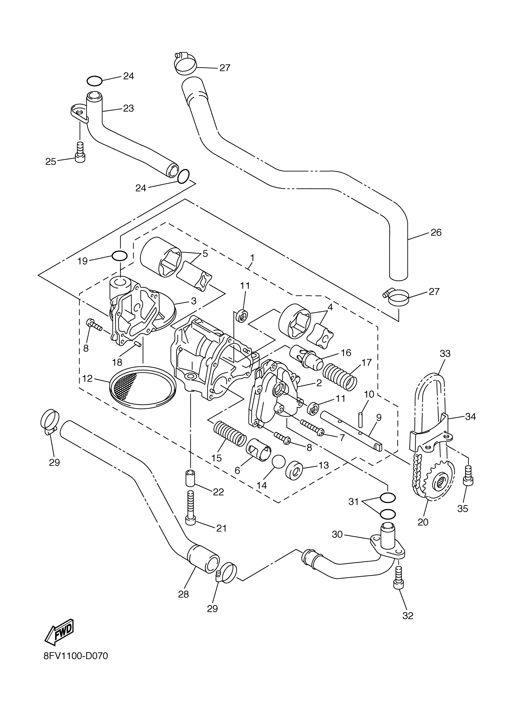
1
OIL PUMP ASSY
8FA-13300-10-00
Unavailable
2
. COVER, PUMP
8FA-13316-10-00
Unavailable
3
. COVER, PUMP 2
8FA-13356-10-00
Unavailable
5
. ROTOR ASSY 2
8FA-13320-00-00
Unavailable
6
. PIPE
8FA-13284-00-00
Unavailable
9
. SHAFT, PUMP
8FA-13314-10-00
Unavailable
13
. SEAT, CHECK BALL
5PX-13113-00-00
Unavailable
15
. SPRING, COMPRESSION
90501-105L2-00
Unavailable
16
. PLUNGER, RELIEF
2H7-13483-00-00
Unavailable
17
. SPRING, COMPRESSION
90501-18499-00
Unavailable
18
PIN, DOWEL
93603-07073-00
Unavailable
19
O-RING (1L9)
93210-18322-00
Unavailable
20
SPROCKET, DRIVEN
8FA-13355-00-00
Unavailable
21
BOLT,SOCKET
91317-06035-00
Unavailable
22
PIN, DOWEL
99530-08012-00
Unavailable
23
PIPE, OIL 1
8FA-13416-00-00
Unavailable
24
O-RING (26H)
93210-16629-00
Unavailable
25
BOLT,SOCKET
91317-06012-00
Unavailable
26
HOSE, OIL 1
8FA-13464-00-00
Unavailable
27
CLIP(34X)
90467-22097-00
Unavailable
28
HOSE, OIL 2
8FA-13465-00-00
Unavailable
29
HOSE CLAMP ASSY
90450-28001-00
Unavailable
30
CONNECTOR, SUCTION PIPE 2
8FA-1311A-00-00
Unavailable
31
O-RING (26H)
93210-16629-00
Unavailable
32
BOLT,SOCKET
91317-06014-00
Unavailable
33
CHAIN
94580-31058-00
Unavailable
34
HOLDER
8FA-13898-00-00
Unavailable
35
BOLT,SOCKET
91317-06012-00
Unavailable
