- Partiron
- OEM Parts
- Yamaha
- snowmobile
- 2005
- RX10RSK (RX-1 ER LIMITED EDITION) 8FY11 2005
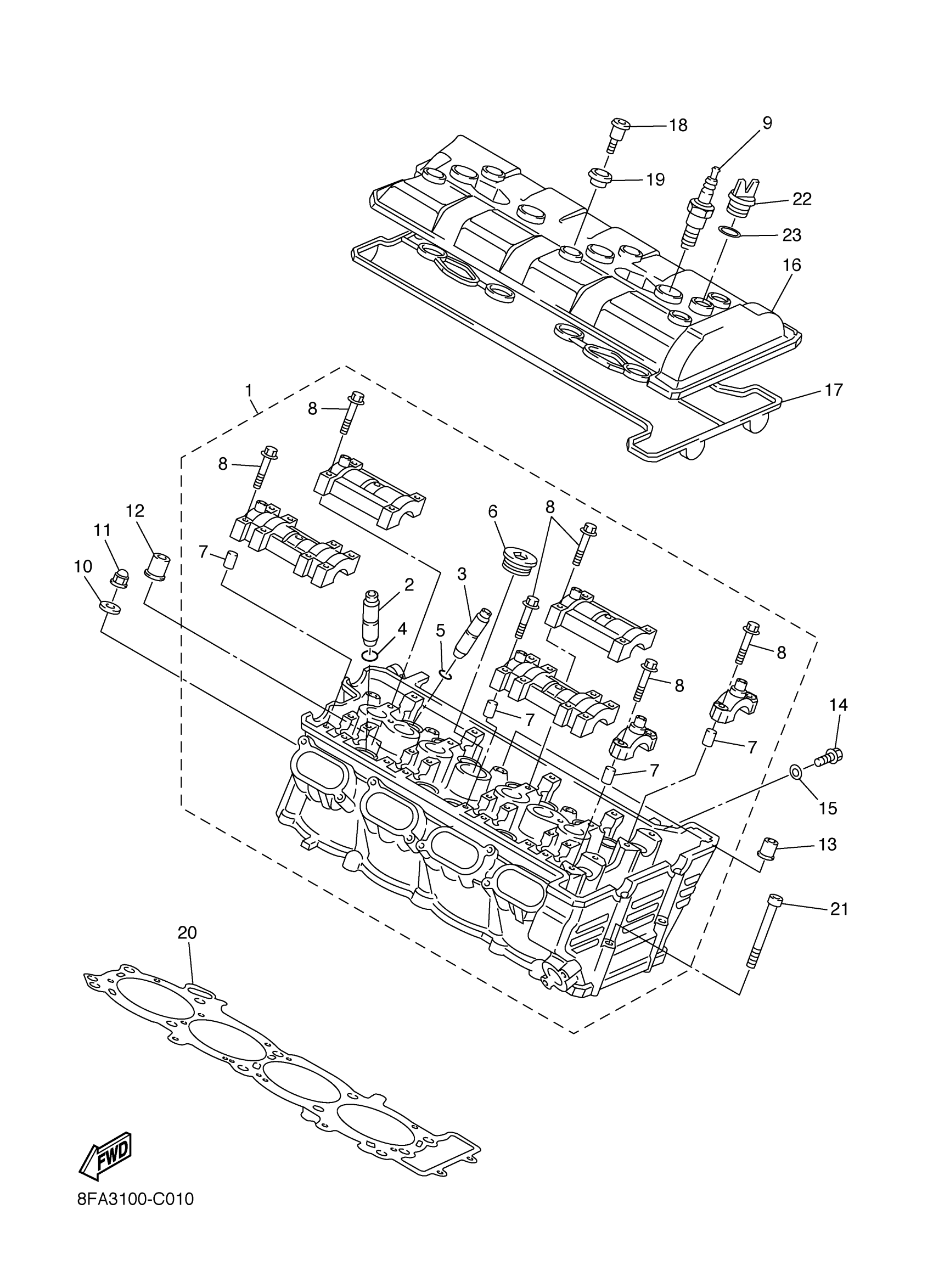
CYLINDER HEAD
Yamaha RX10RSK (RX-1 ER LIMITED EDITION) 8FY11 2005 CYLINDER HEAD Diagram
#
Description
Price
1
CYLINDER HEAD ASSY
8FA-11102-04-00
Unavailable
8
. BOLT, FLANGE
90105-06026-00
Unavailable
9
CR9E NGK SPLUG 4PK
CR9-E0000-00-00
Unavailable
15
GASKET 256113960000
90430-06014-00
Unavailable
16
COVER, CYLINDER HEAD 1
8FU-11191-00-00
Unavailable
17
GASKET, HEAD COVER 1
8FA-11193-00-00
Unavailable
18
BOLT(4BP)
90109-066F0-00
Unavailable
19
RUBBER, MOUNT 1
5EA-1111G-00-00
Unavailable
20
GASKET, CYLINDER HEAD 1
8FA-11181-01-00
Unavailable
21
BOLT,SOCKET
91317-06060-00
Unavailable
22
PLUG, OIL
3Y1-15363-10-00
Unavailable
23
O-RING (646)
93210-19123-00
Unavailable
