- Partiron
- OEM Parts
- Yamaha
- snowmobile
- 2012
- RX10PSBL (APEX SE) 8JC30 2012
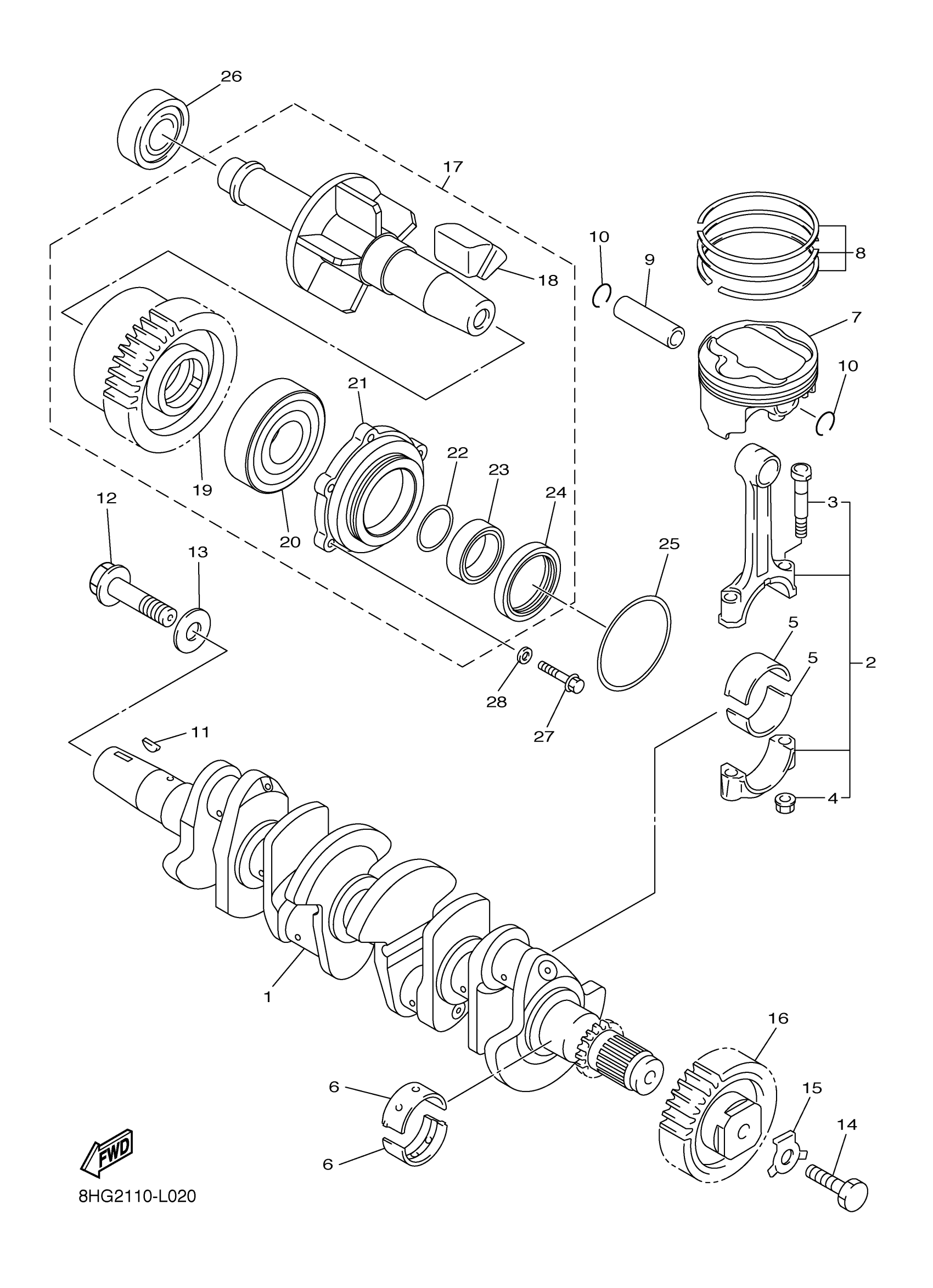
CRANKSHAFT PISTON
Yamaha RX10PSBL (APEX SE) 8JC30 2012 CRANKSHAFT PISTON Diagram
#
Description
Price
1
CRANKSHAFT
8FP-11411-00-00
Unavailable
2
CONNECTING ROD ASSY
8HG-11650-00-00
Unavailable
9
PIN, PISTON
4XV-11633-00-00
Unavailable
10
CLIP (1J7)
90468-12069-00
Unavailable
11
KEY, WOODRUFF (26H)
90280-05029-00
Unavailable
12
BOLT, FLANGE
90105-12032-00
Unavailable
13
WASHER (838)
90201-12191-00
Unavailable
14
BOLT
90101-10009-00
Unavailable
15
WASHER, LOCK
90215-10001-00
Unavailable
16
GEAR, PRIMARY DRIVE
8FP-16111-00-00
Unavailable
17
SHAFT ASSY
8FP-11406-00-00
Unavailable
18
ABSORBER 1
8FP-16155-00-00
Unavailable
19
GEAR, PRIMARY DRIVEN
8FP-16151-00-00
Unavailable
20
BEARING
93306-30636-00
Unavailable
21
HOUSING, BEARING
8FP-16775-00-00
Unavailable
22
O-RING(36Y)
93210-30660-00
Unavailable
23
COLLAR
8FA-11478-00-00
Unavailable
24
OIL SEAL
93102-40023-00
Unavailable
25
O-RING (4G0)
93210-56459-00
Unavailable
26
BEARING
93306-27209-00
Unavailable
27
BOLT, FLANGE
95817-06025-00
Unavailable
28
GASKET (4V2)
90430-06166-00
Unavailable
