Yamaha RX10PER (APEX) 8HG50 2014 BRAKE Diagram
#
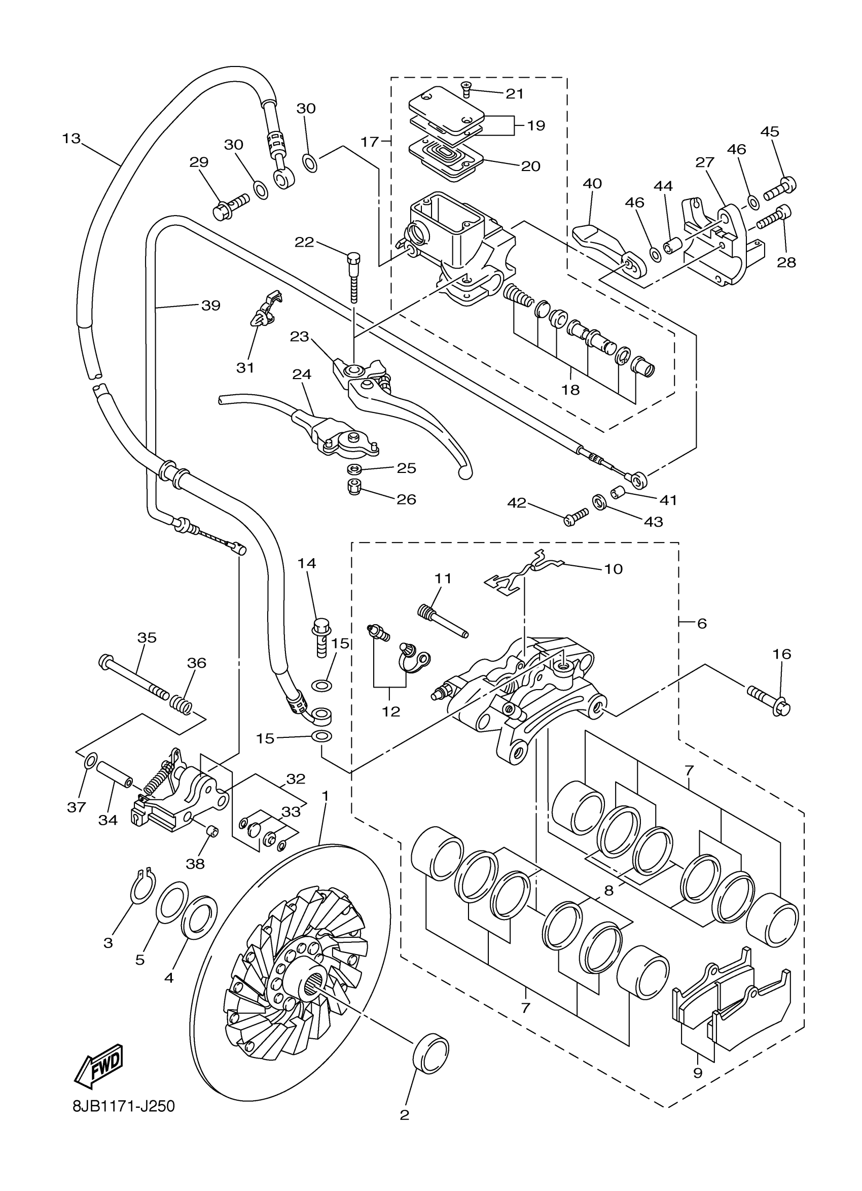
1
DISK BRAKE ASSY
8GL-2581T-00-00
Unavailable
2
COLLAR
90387-25021-00
Unavailable
5
WASHER, PLATE (T=0.5)
90201-222F0-00
Unavailable
6
CALIPER ASSY (LEFT)
8FU-2580T-01-00
Unavailable
7
PISTON ASSY, CALIPER
8FU-W0057-00-00
Unavailable
8
CALIPER SEAL KIT
3JD-W0047-10-00
Unavailable
10
SUPPORT, PAD
8FU-25919-00-00
Unavailable
11
PIN, PAD
8FU-25924-00-00
Unavailable
13
HOSE, BRAKE 1
8GT-25872-20-00
Unavailable
15
WASHER, PLATE(481)
90201-10118-00
Unavailable
16
BOLT, FLANGE
90105-10096-00
Unavailable
17
MASTER CYLINDER SUB ASSY
8FA-W2587-00-00
Unavailable
18
CYLINDER KIT, MASTER
8CR-W0041-00-00
Unavailable
19
RESERVOIR CAP SET
8CR-W2585-00-00
Unavailable
20
DIAPHRAGM, RESERVOIR
55U-25854-00-00
Unavailable
21
SCREW, FLAT
98707-04012-00
Unavailable
22
BOLT, LEVER
8CR-2589F-00-00
Unavailable
23
LEVER 1
8DN-83912-00-00
Unavailable
24
STOP SWITCH ASSY
8FP-82530-00-00
Unavailable
25
WASHER, PLAIN
8CR-8398X-00-00
Unavailable
26
NUT, NYLON
95707-05300-00
Unavailable
27
BRACKET, MASTER CYLINDER
8FA-25867-00-00
Unavailable
28
BOLT
5YU-26332-00-00
Unavailable
30
WASHER, PLATE(481)
90201-10118-00
Unavailable
31
CLAMP
90464-14012-00
Unavailable
32
PARKING BRAKE COMP.
8FU-25970-01-00
Unavailable
33
PARKING BRAKE PAD KIT
8FA-W0045-00-00
Unavailable
34
COLLAR
90387-06058-00
Unavailable
35
BOLT
90111-06048-00
Unavailable
36
SPRING, COMPRESSION
90501-120A0-00
Unavailable
37
WASHER 6474553400
90201-12161-00
Unavailable
38
COLLAR
90387-06085-00
Unavailable
39
CABLE, BRAKE
8FP-26351-10-00
Unavailable
40
LEVER 2
8FA-83922-00-00
Unavailable
41
COLLAR
90387-06043-00
Unavailable
42
BOLT, BUTTON HEAD
92017-06014-00
Unavailable
43
. WASHER, PLATE
90201-06050-00
Unavailable
44
COLLAR
90387-081M9-00
Unavailable
45
BOLT,HEX. SOCKET BUTTON
90111-08054-00
Unavailable
46
WASHER PLATE 141181390000
90201-08085-00
Unavailable
