- Partiron
- OEM Parts
- Yamaha
- snowmobile
- 2011
- RX10PAR (APEX) 8HG10 2011
CYLINDER HEAD
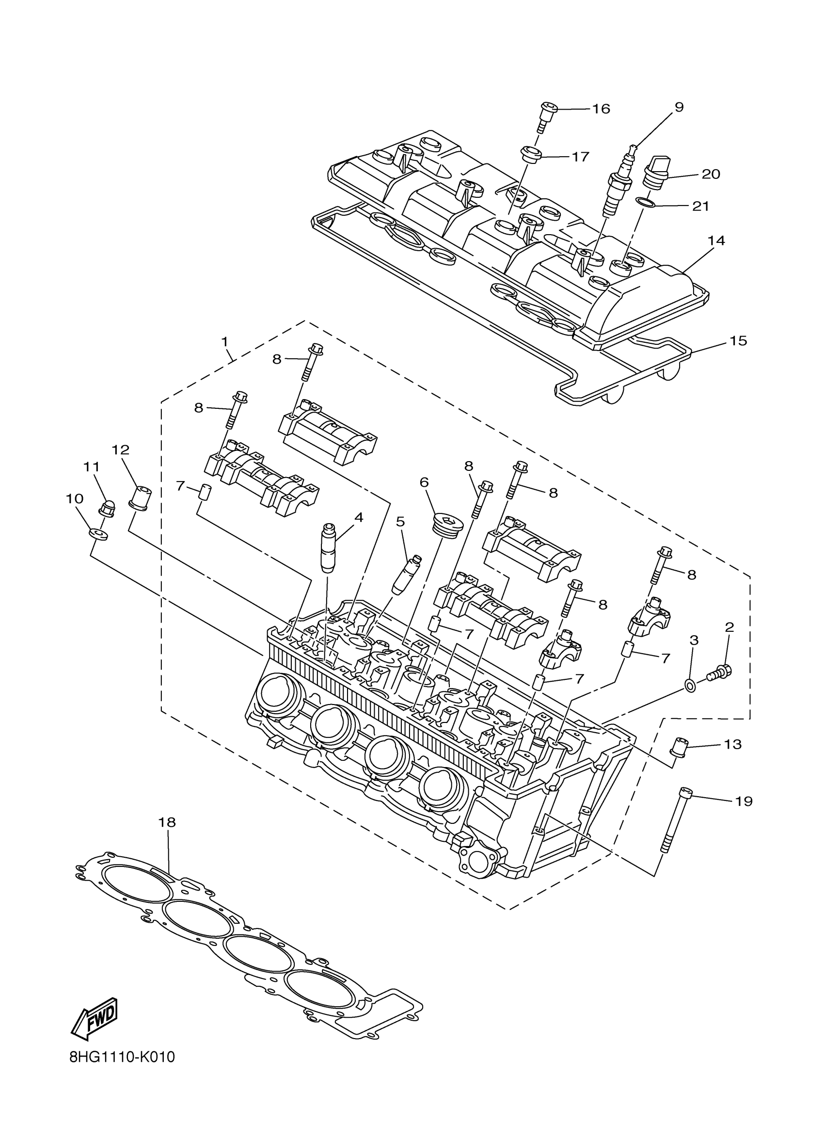
Yamaha RX10PAR (APEX) 8HG10 2011 CYLINDER HEAD Diagram
#
Description
Price
1
CYLINDER HEAD ASSY
8HG-11101-09-00
Unavailable
3
GASKET 256113960000
90430-06014-00
Unavailable
5
GUIDE, VALVE 2
8HG-11134-10-00
Unavailable
8
. BOLT, FLANGE
90105-06026-00
Unavailable
9
CR9EB NGK SPLUG 4PK
CR9-EB000-00-00
Unavailable
14
COVER, CYLINDER HEAD 1
8FP-11191-00-00
Unavailable
16
BOLT(4BP)
90109-066F0-00
Unavailable
17
RUBBER, MOUNT 1
5VY-1111G-00-00
Unavailable
18
GASKET, CYLINDER HEAD 1
8HG-11181-00-00
Unavailable
19
BOLT
91312-06060-00
Unavailable
20
PLUG, OIL
3Y1-15363-10-00
Unavailable
21
O-RING (646)
93210-19123-00
Unavailable
