Yamaha RX10LTXB (APEX LTX) 8FT5 2008 EXHAUST Diagram
#
Description
Price
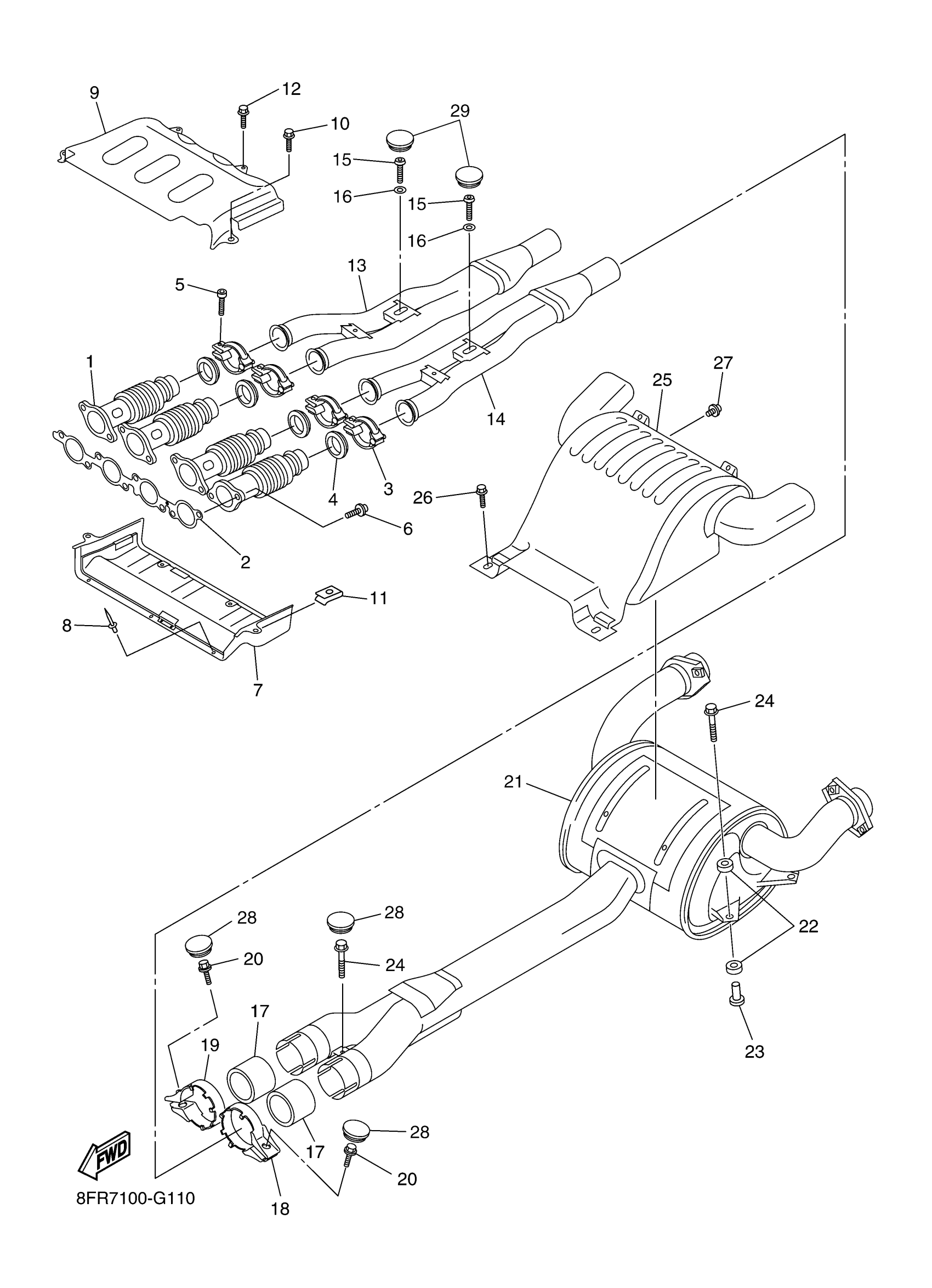
7
COVER, EXHAUST
8FU-14627-10-00
Unavailable
9
EXHAUST COVER ASS'Y
8FP-14637-00-00
Unavailable
11
NUT, SPRING
90183-060A0-00
Unavailable
16
WASHER, PLAIN
92990-08200-00
Unavailable
17
GASKET, MUFFLER
8FA-14714-10-00
Unavailable
18
BAND, SILENCER
8FA-14788-00-00
Unavailable
19
BAND, SILENCER
8FA-14789-00-00
Unavailable
20
BOLT, FLANGE
95812-08020-00
Unavailable
21
SILENCER ASSY
8FP-14750-10-00
Unavailable
22
DAMPER, MUFFLER
8FA-14737-00-00
Unavailable
23
COLLAR
90387-08071-00
Unavailable
24
BOLT, WITH WASHER
90119-08112-00
Unavailable
25
PROTECTOR ASSY
8FP-14708-01-00
Unavailable
26
BOLT, WITH WASHER
90119-06179-00
Unavailable
28
PLUG
90338-20004-00
Unavailable
29
PLUG
90338-20007-00
Unavailable
