- Partiron
- OEM Parts
- Yamaha
- snowmobile
- 2009
- RX10GTYL (APEX GT) 8GD9 2009
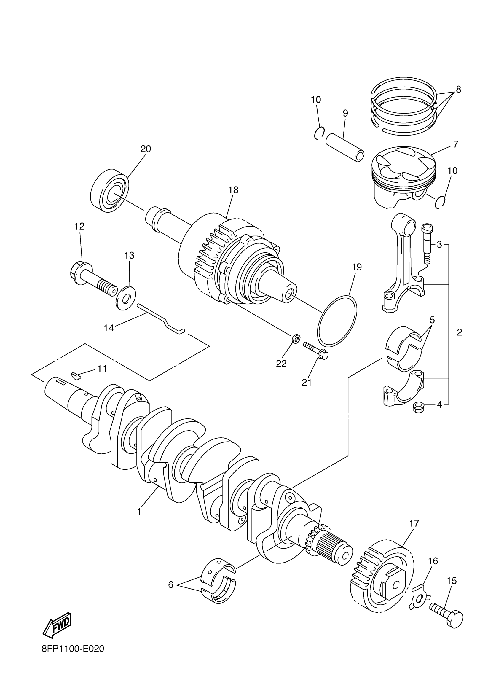
CRANKSHAFT PISTON
Yamaha RX10GTYL (APEX GT) 8GD9 2009 CRANKSHAFT PISTON Diagram
#
Description
Price
1
CRANKSHAFT
8FP-11411-00-00
Unavailable
2
CONNECTING ROD ASSY
5PW-11650-00-00
Unavailable
9
PIN, PISTON
4XV-11633-00-00
Unavailable
10
CLIP (1J7)
90468-12069-00
Unavailable
11
KEY, WOODRUFF (26H)
90280-05029-00
Unavailable
12
BOLT, FLANGE
90105-12032-00
Unavailable
13
WASHER (838)
90201-12191-00
Unavailable
14
SHAFT 1
5JW-11455-00-00
Unavailable
15
BOLT
90101-10009-00
Unavailable
16
WASHER, LOCK
90215-10001-00
Unavailable
17
GEAR, PRIMARY DRIVE
8FP-16111-00-00
Unavailable
18
SHAFT ASSY
8FP-11406-00-00
Unavailable
19
O-RING (4G0)
93210-56459-00
Unavailable
20
BEARING
93306-27209-00
Unavailable
21
BOLT, FLANGE
95817-06025-00
Unavailable
22
GASKET (4V2)
90430-06166-00
Unavailable
