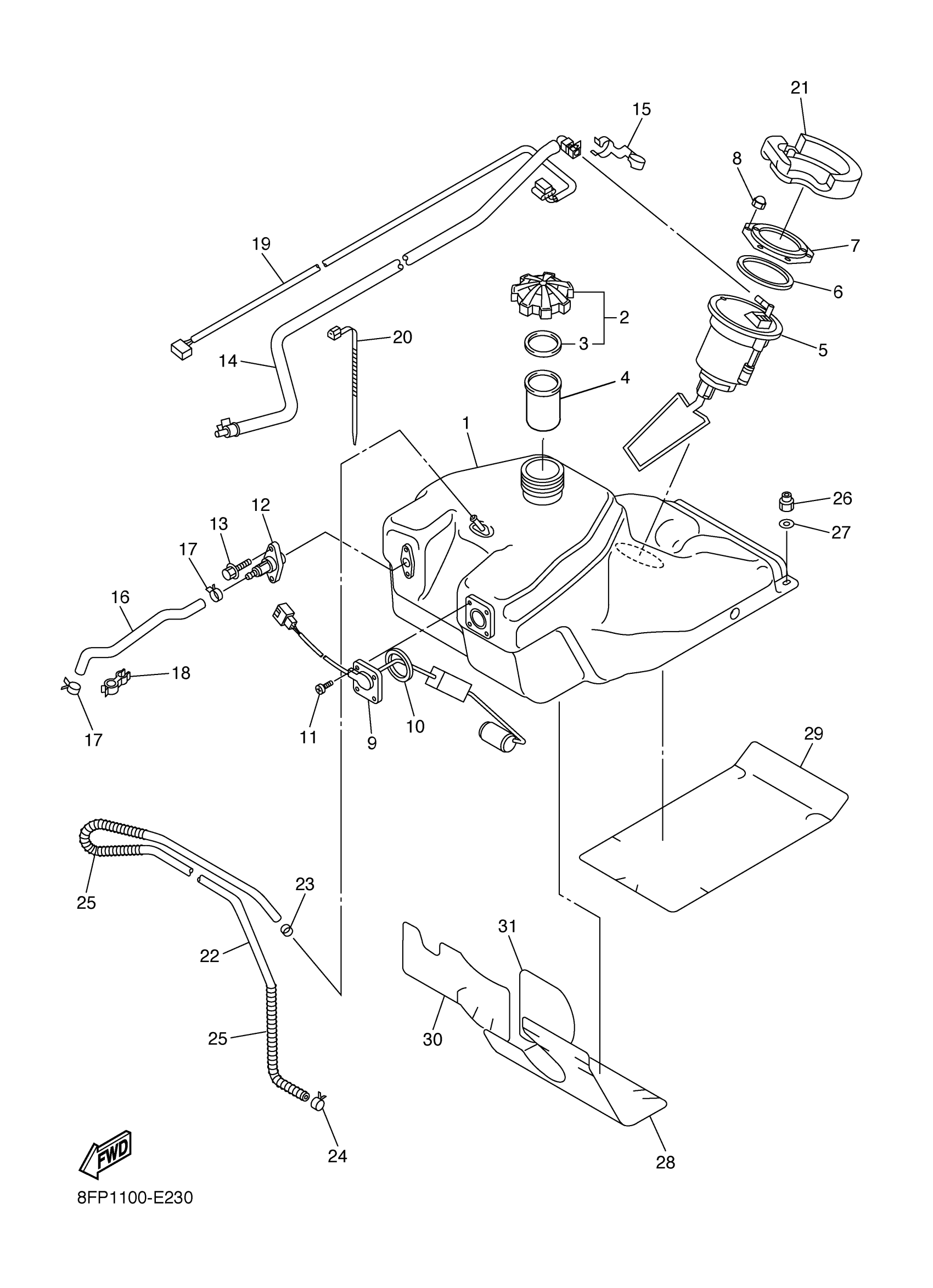
Yamaha RX10GTW (APEX GT) 8GD3 2007 FUEL TANK Diagram
#
Description
Price
1
TANK, FUEL
8FP-24111-01-00
Unavailable
3
GASKET, CAP 1
8HV-24641-00-00
Unavailable
4
TUBE, FILLER
8FP-24114-00-00
Unavailable
5
FUEL PUMP COMP.
8FP-13907-02-00
Unavailable
7
BRACKET, FUEL PUMP
8FP-24491-00-00
Unavailable
9
SENDER UNIT ASSY, FUEL METER
8FP-85752-01-00
Unavailable
14
PIPE, FUEL 1
8FR-24311-00-00
Unavailable
16
PIPE 2
8FP-24312-00-00
Unavailable
17
CLIP(3YX)
90467-13133-00
Unavailable
18
CLIP(J38)
90468-80181-00
Unavailable
19
WIRE, SUB LEAD
8FP-82309-01-00
Unavailable
20
CLAMP
90464-13077-00
Unavailable
21
DAMPER, LOCATING 1
8FP-24181-01-00
Unavailable
22
TUBE, FLEXIBLE VINYL(8AT)
91A20-05145-00
Unavailable
23
CLIP (2A6)
90468-02078-00
Unavailable
24
CLIP (8A1)
90467-09026-00
Unavailable
25
SPRING, COMPRESSION (10L)
90501-08668-00
Unavailable
26
NUT, NYLON
95717-08300-00
Unavailable
27
WASHER, PLATE (3L7)
90201-08784-00
Unavailable
28
PROTECTOR, FUEL TANK
8FP-24141-00-00
Unavailable
29
PROTECTOR, FUEL TANK
8FA-24141-10-00
Unavailable
30
INSULATOR, FUEL TANK 1
8FP-2416F-00-00
Unavailable
31
INSULATOR, FUEL TANK 1
8FP-2416F-10-00
Unavailable
