- Partiron
- OEM Parts
- Sea-doo
- Watercraft
- 2001
- RX
- RX X, 5589, 2001
Carburetors
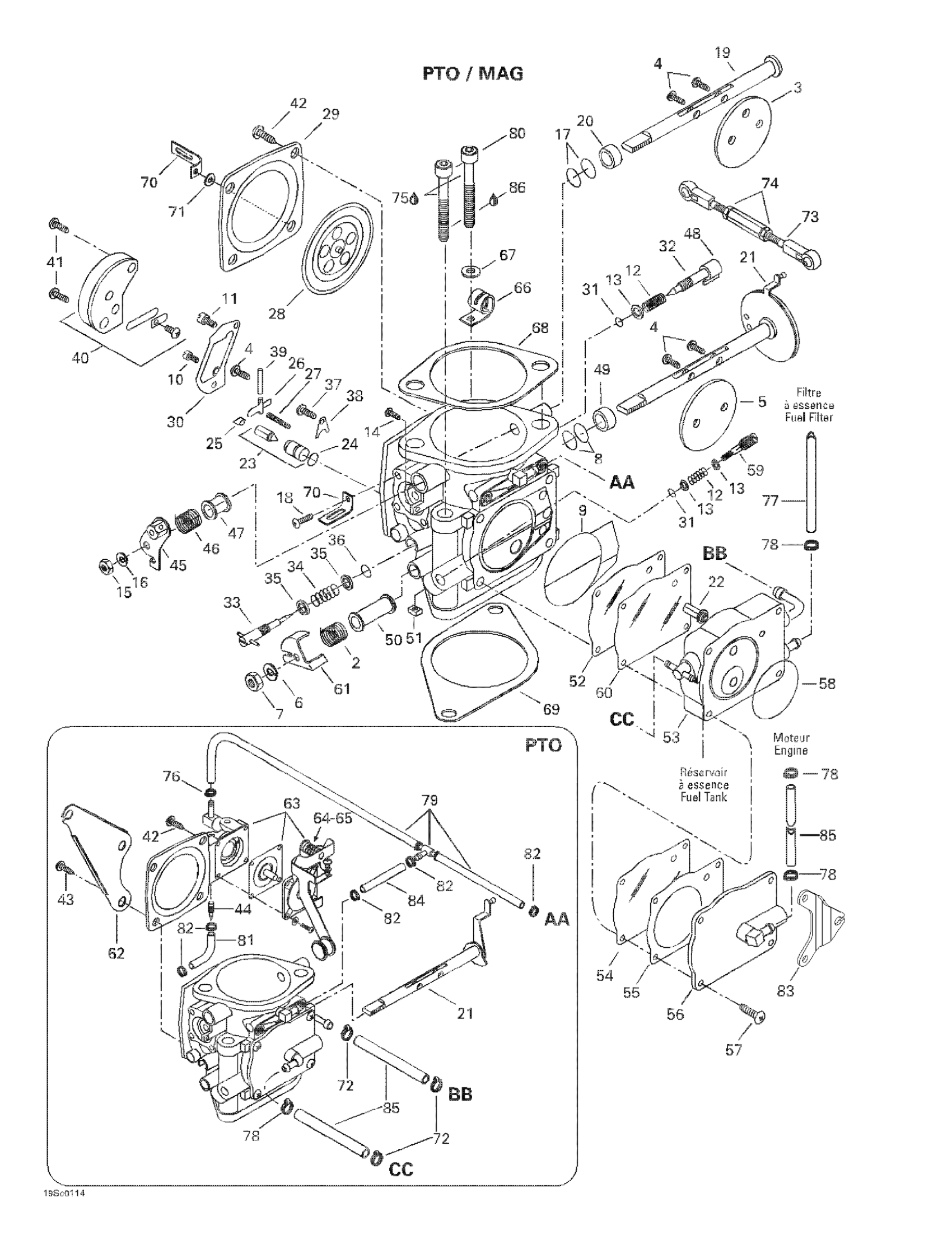
Sea-doo RX X, 5589, 2001 Carburetors Diagram
#
1
Carburetor BN46i-42-12 (P.T.O Side) | Includes 1 - 66.
270500417
Unavailable
Carburetor BN46i-42-14 (MAG Side)
270500790
Unavailable
2
Spring
270500413
Unavailable
Spring
270500379
Unavailable
3
Not Available As Spare Part - Friction Washer
Unavailable
4
SCREW - Call your local BRP dealership
270500156
Unavailable
5
Not Available As Spare Part - Friction Washer
Unavailable
6
SPRING WASHER - Call your local BRP dealership
270500011
Unavailable
7
Nut
270500376
Unavailable
8
Sealing Ring
270500222
Unavailable
9
O-RING - Call your local BRP dealership
270500370
Unavailable
10
PILOT JET 75 - Call your local BRP dealership
270500427
Unavailable
11
Main Jet 172.5 | PTO.
289100073
Unavailable
Main Jet 177.5 | MAG.
289100074
Unavailable
12
SPRING - Call your local BRP dealership
270500091
Unavailable
13
Washer
270500136
Unavailable
14
Screw
270500228
Unavailable
15
NUT - Call your local BRP dealership
270500229
Unavailable
16
Spring Washer
270500230
Unavailable
17
SEALING RING - Call your local BRP dealership
270500234
Unavailable
18
Screw
270500358
Unavailable
19
Not Available As Spare Part - Friction Washer
Unavailable
20
RING - Call your local BRP dealership
270500239
Unavailable
21
Not Available As Spare Part - Friction Washer
Unavailable
Not Available As Spare Part - Friction Washer
Unavailable
22
FUEL FILTER - Call your local BRP dealership
270500115
Unavailable
24
O-RING - Call your local BRP dealership
270500127
Unavailable
25
CLIP - Call your local BRP dealership
270500129
Unavailable
26
NEEDLE VALVE LEVER - Call your local BRP dealership
270500128
Unavailable
27
Spring
289100072
Unavailable
28
DIAPHRAGM ASS'Y - Call your local BRP dealership
270500132
Unavailable
29
COVER - Call your local BRP dealership
270500133
Unavailable
30
GASKET - Call your local BRP dealership
270500131
Unavailable
31
O-RING - Call your local BRP dealership
270500144
Unavailable
32
Adjuster Screw
270500113
Unavailable
33
IDLE ADJUSTING SCREW - Call your local BRP dealership
270500020
Unavailable
34
SPRING - Call your local BRP dealership
270500019
Unavailable
35
Washer
270500018
Unavailable
36
O-RING - Call your local BRP dealership
270500119
Unavailable
37
Screw And Spring Washer
270500155
Unavailable
38
PLATE - Call your local BRP dealership
270500125
Unavailable
39
Pin
270500038
Unavailable
40
VALVE ASS'Y - Call your local BRP dealership
270500124
Unavailable
41
SCREW - Call your local BRP dealership
270500123
Unavailable
42
Screw
270500243
Unavailable
Screw
270500322
Unavailable
43
SCREW - Call your local BRP dealership
270500238
Unavailable
44
Jet
270500443
Unavailable
45
Choke lever
270500431
Unavailable
46
Spring
270500382
Unavailable
47
Ring
270500381
Unavailable
48
Cap
270500154
Unavailable
49
Ring
270500353
Unavailable
Ring
270500435
Unavailable
50
Ring
270500378
Unavailable
51
Nut
270500249
Unavailable
52
DIAPHRAGM - Call your local BRP dealership
270500369
Unavailable
53
Body Pump Ass'y
270500439
Unavailable
54
DIAPHRAGM - Call your local BRP dealership
270500366
Unavailable
55
GASKET - Call your local BRP dealership
270500365
Unavailable
56
Pump Cover
270500405
Unavailable
Pump Cover
270500409
Unavailable
57
Screw
270500303
Unavailable
58
O-Ring
270500363
Unavailable
59
Adjuster Screw
270500288
Unavailable
60
DIAPHRAGM - Call your local BRP dealership
270500368
Unavailable
61
Throttle Lever
270500412
Unavailable
Throttle Lever
270500436
Unavailable
62
Bracket
270500403
Unavailable
63
Diaphragm Cover
270500433
Unavailable
64
Not Available As Spare Part - Friction Washer
Unavailable
65
Spacer | PTO.
289100067
Unavailable
66
Clip
293850018
Unavailable
68
GASKET - Call your local BRP dealership
270500384
Unavailable
69
Gasket
293250066
Unavailable
70
Plate
270500359
Unavailable
71
Washer
270500402
Unavailable
73
Carburator Linkage
270500319
Unavailable
74
Nut
270500351
Unavailable
Nut
270500352
Unavailable
75
Synthetic Grease, 400 G
293550010
Unavailable
76
OETIKER CLAMP - Call your local BRP dealership
293650071
Unavailable
77
Hose
293500345
Unavailable
79
H ose Ass'y
270500441
Unavailable
81
Hose
270500442
Unavailable
83
Cable Support
270500440
Unavailable
84
Hose
270500342
Unavailable
85
HOSE-6MM. 5000MM LONG - Call your local BRP dealership
219704396
Unavailable
