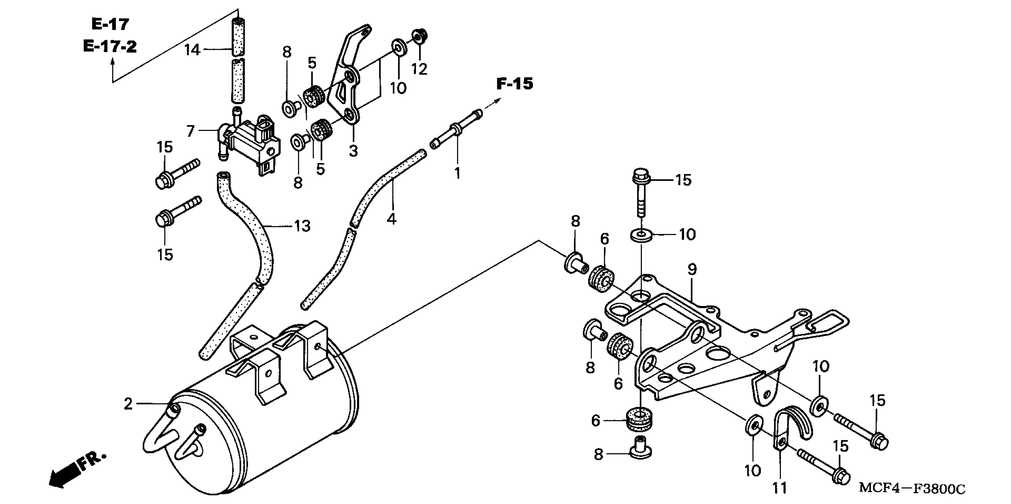
Honda RVT1000RAC (05) RC51, JPN, VIN# JH2SC451-5M500001 CANISTER Diagram
#
Description
Price
2
CANISTER ASSY.
17400-MCF-L20
Unavailable
3
STAY, PURGE CONTROL SOLENOID VALVE
17412-MCF-770
Unavailable
4
TUBE, CANISTER
17413-MCF-770
Unavailable
9
STAY, L. COWL (LOWER)
64514-MCF-L30
Unavailable
