Partiron

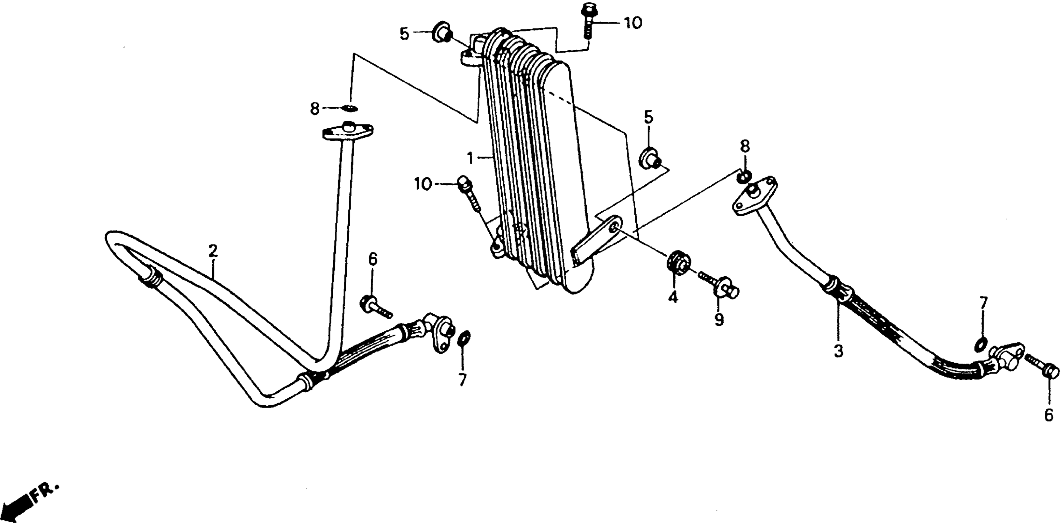
Honda RVF750RA (94) RC45, JPN, VIN# JH2RC450-RM000006 OIL COOLER Diagram

#

Description
Price

1

COOLER, OIL

15600-MW4-003

Unavailable

2

PIPE, R. OIL HOSE

15650-MW4-000

Unavailable

3

PIPE, L. OIL HOSE

15660-MW4-000

Unavailable

4

RUBBER, RADIATOR MOUNTING

19051-KA3-830

$3.31

5

COLLAR, RADIATOR MOUNTING This part replaces 19052-MN8-000.

19052-MGH-640

$2.48

6

BOLT, FLANGE (8X22) This part replaces 90103-MJ1-000.

90103-MJ1-010

$1.93

6

BOLT, FLANGE (8X22)

90103-MJ1-010

$1.93

7

O-RING (11.1X3.5)

91255-MJ1-000

$2.92

8

O-RING (10X2.6) (ARAI)

91314-ME5-003

$3.54

9

BOLT-WASHER (6X28)

93404-06028-00

$1.49

10

BOLT, FLANGE (6X20)

96001-06020-00

$1.49