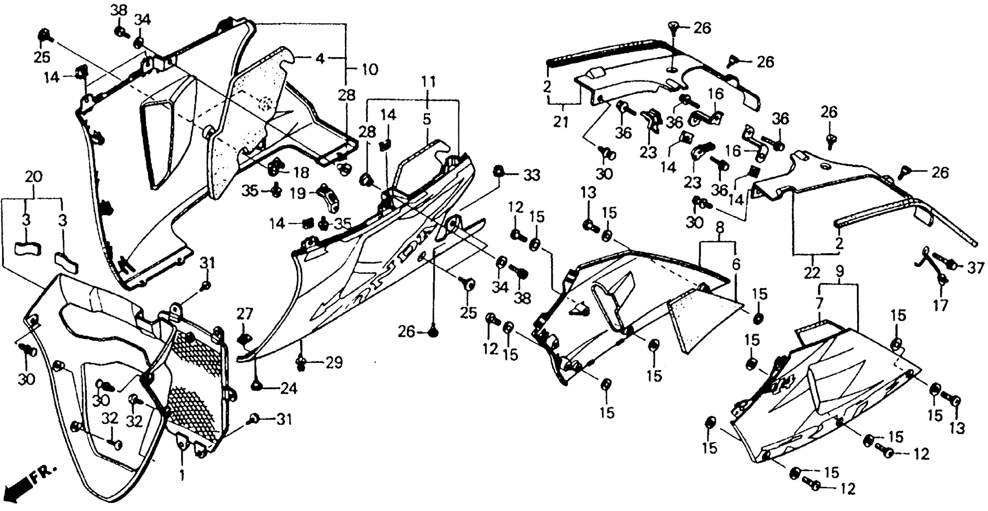
Honda RVF750RA (94) RC45, JPN, VIN# JH2RC450-RM000006 LOWER COWL Diagram
#
Description
Price
1
GRILLE, RADIATOR (LOWER)
19031-MW4-000
Unavailable
2
RUBBER, PROTECTOR This part replaces 64122-MW4-300.
64122-MW4-850
Unavailable
2
RUBBER, PROTECTOR
64122-MW4-850
Unavailable
4
MAT A, R. COWL SIDE
64256-MW4-300
Unavailable
5
MAT A, L. COWL SIDE
64257-MW4-300
Unavailable
6
MAT B, R. COWL SIDE
64258-MW4-300
Unavailable
7
MAT B, L. COWL SIDE
64259-MW4-300
Unavailable
8
COWL SET, R. MIDDLE (TYPE1) (WL)
64300-MW4-000ZA
Unavailable
9
COWL SET, L. MIDDLE (TYPE1) (WL)
64350-MW4-000ZA
Unavailable
10
COWL SET, R. (LOWER) (TYPE1) (WL)
64400-MW4-000ZA
Unavailable
11
COWL SET, L. (LOWER) (TYPE1) (WL)
64450-MW4-000ZA
Unavailable
16
STAY, MIDDLE COWL
64531-MW4-000
Unavailable
17
WIRE, STOP SCREW
64532-MW4-000
Unavailable
18
STAY, COWL (LOWER) (B)
64542-MW0-000
Unavailable
19
STAY, COWL (LOWER)
64542-MW4-000
Unavailable
20
COWL (LOWER) (INNER) *R127* (SPARKLING RED)
64560-MW4-000ZB
Unavailable
21
PANEL, R. (INNER) This part replaces 64580-MW4-000.
64580-MW4-850
Unavailable
22
PANEL, L. (INNER) This part replaces 64585-MW4-000.
64585-MW4-850
Unavailable
22
PANEL, L. (INNER)
64585-MW4-850
Unavailable
23
STAY, PANEL (INNER)
64591-MW4-000
Unavailable
36
BOLT, FLANGE (6X16)
96300-06016-07
Unavailable
37
BOLT, FLANGE (6X20)
96300-06020-07
Unavailable
