Partiron

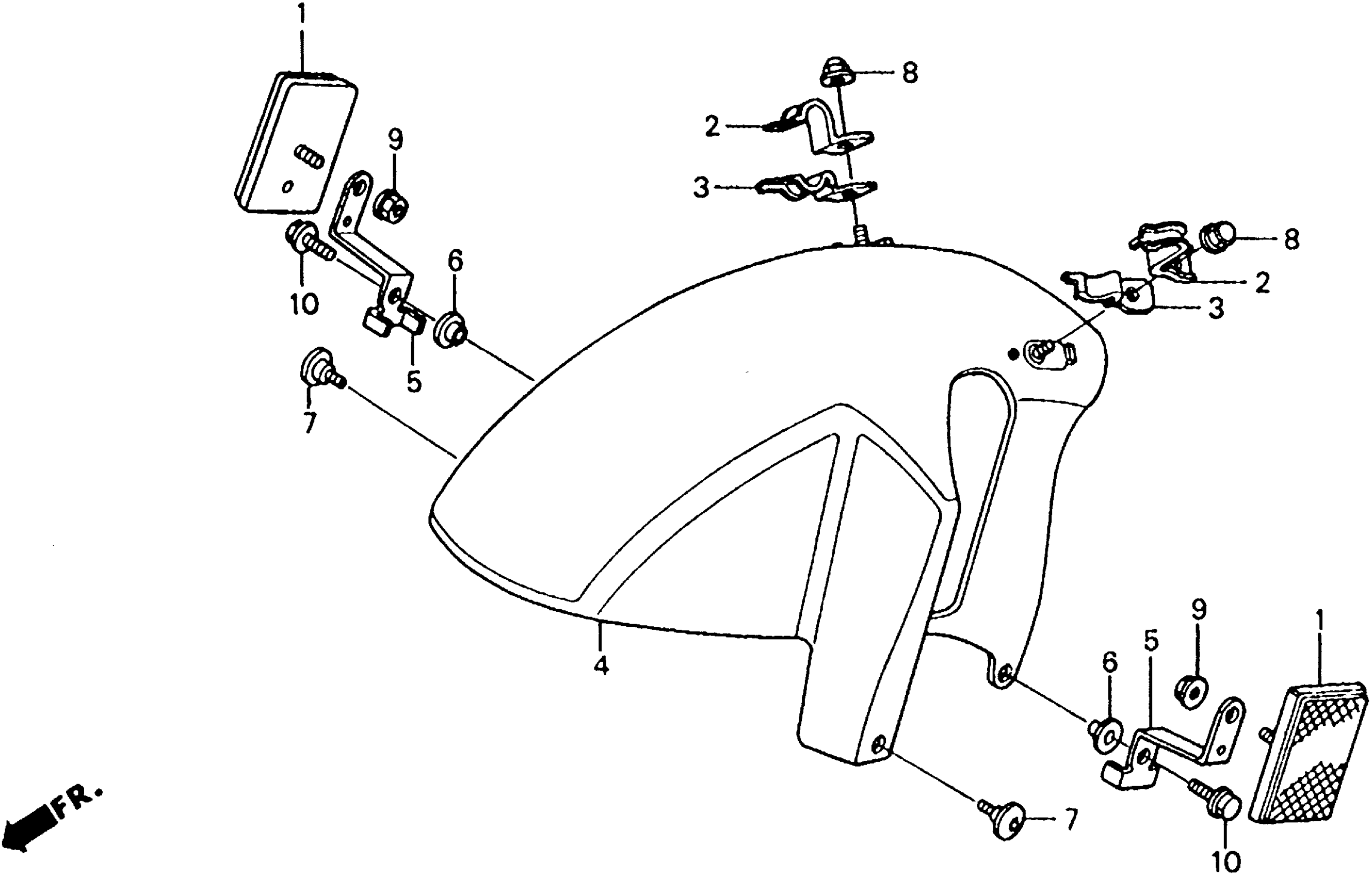
Honda RVF750RA (94) RC45, JPN, VIN# JH2RC450-RM000006 FRONT FENDER Diagram

#

Description
Price

1

REFLECTOR, FR. REFLEX

33741-MB2-671

$14.86

2

CLAMP A, FR. BRAKE HOSE

45461-KW3-000

$5.46

3

CLAMP B, BRAKE HOSE

45462-MW4-000

$6.75

4

FENDER, FR. *R127* (SPARKLING RED)

61100-MW4-000ZB

Unavailable

5

STAY, FR. REFLECTOR

61101-MW4-690

Unavailable

6

COLLAR, FR. FENDER SETTING

61101-441-000

$4.13

7

SCREW, PAN (6X11)

90106-KY2-701

$4.24

8

NUT, CAP (6MM)

94021-06070-0S

$1.62

9

NUT, FLANGE (5MM)

94050-05000

$1.49

10

BOLT, FLANGE (6X16)

96300-06016-07

Unavailable