- Partiron
- OEM Parts
- Suzuki
- Motorcycle
- 2019
- RV200L9 (2019)
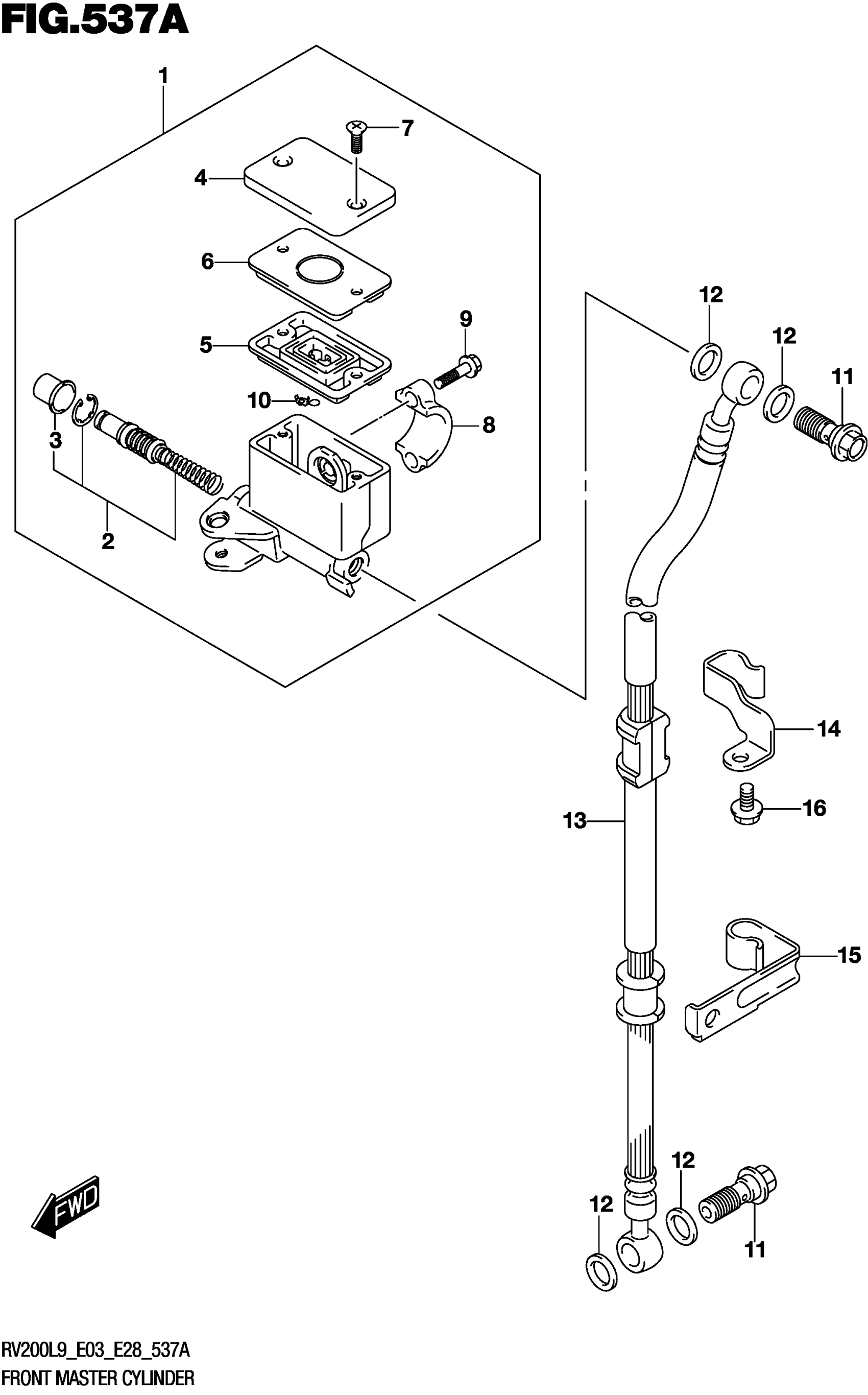
FRONT MASTER CYLINDER
Suzuki RV200L9 (2019) FRONT MASTER CYLINDER Diagram
#
Description
Price
14
CLAMP, FR BRAKE HOSE NO.1
59266-13G00
Unavailable
15
CLAMP, FR BRAKE HOSE NO.2
59268-13G00
Unavailable
