Partiron

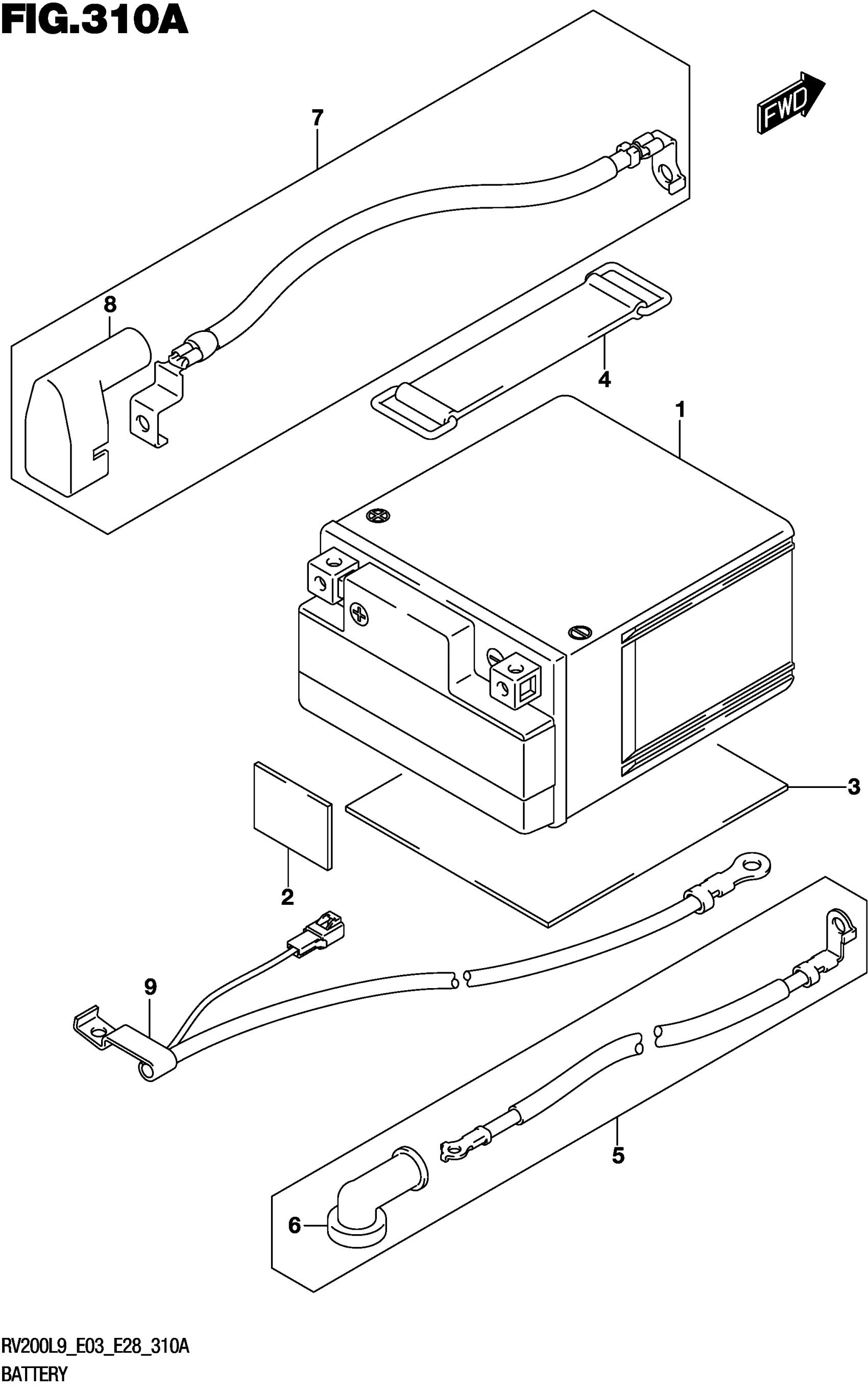
Suzuki RV200L9 (2019) BATTERY Diagram

#

Description
Price

1

BATTERY ASSY (YTX7L-BS,12V,6AH) | GS YUASA This part replaces 33630-15D00.

33610-15D20

$76.28

1

BATTERY ASSY (YTX7L-BS,12V,6AH) This part replaces 33630-15D00.

33610-15D20

$76.28

2

PROTECTOR,BATTERY (30X40X1.0)

33652-13G00

$3.58

3

PROTECTOR, BATTERY

33652-13G10

Unavailable

3

PROTECTOR, BATTERY

33652-13G10

Unavailable

4

BAND

09462-00043

$4.11

5

WIRE, STARTER MOTOR LEAD

33810-13G00

Unavailable

6

.CAP,STARTER MOTOR LEAD

31861-48B10

$6.55

7

WIRE, BATTERY PLUS

33820-13G00

Unavailable

8

.CAP, BATTERY PLUS LEAD (+)

33624-27G00

$9.90

9

WIRE, BATTERY HARNESS

33860-13G10

$22.02