Partiron

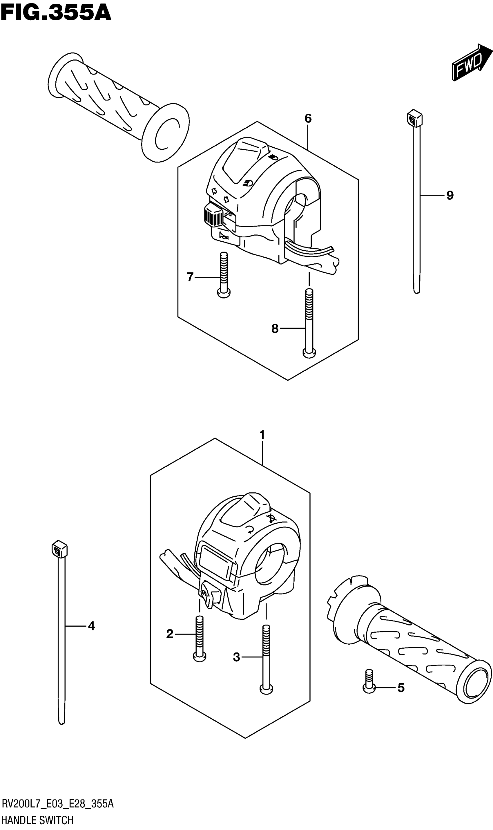
Suzuki RV200L7 (2017) HANDLE SWITCH Diagram

#

Description
Price

1

SWITCH ASSY, HANDLE RH

37200-13G21

$139.82

2

.SCREW

02112-0530B

$1.49

3

.SCREW

02112-0550B

$2.39

4

CLAMP (L:145)

09407-14407

$3.57

5

SCREW

02112-0510A

$1.49

6

SWITCH ASSY,HAN This part replaces 37400-13G00.

37400-13G01

$164.42

7

.SCREW

02112-0525B

$1.84

8

.SCREW

02112-0545B

$2.26

9

CLAMP (L:145)

09407-14407

$3.57