#
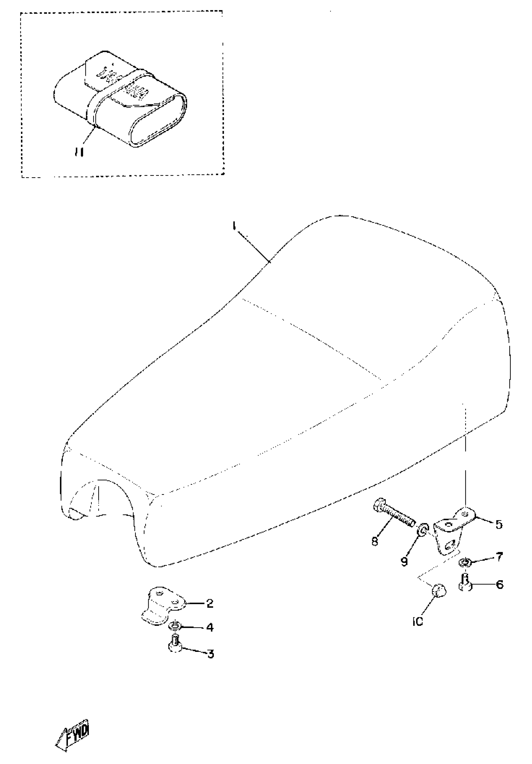
1
(322-24770-00-00)
Unavailable
1
(322-24771-00-00)
Unavailable
2
2Y0-24748-00-00
Unavailable
4
92995-06100-00
Unavailable
5
(322-24738-00-00)
Unavailable
7
92995-06100-00
Unavailable
8
97013-08050-00
Unavailable
9
92990-08200-00
Unavailable
10
619-42526-00-00
Unavailable
11
(322-28100-00-00)
Unavailable
Edit ride
