- Partiron
- OEM Parts
- Yamaha
- motorcycle
- 1970
- RT1M (RT1) 1970
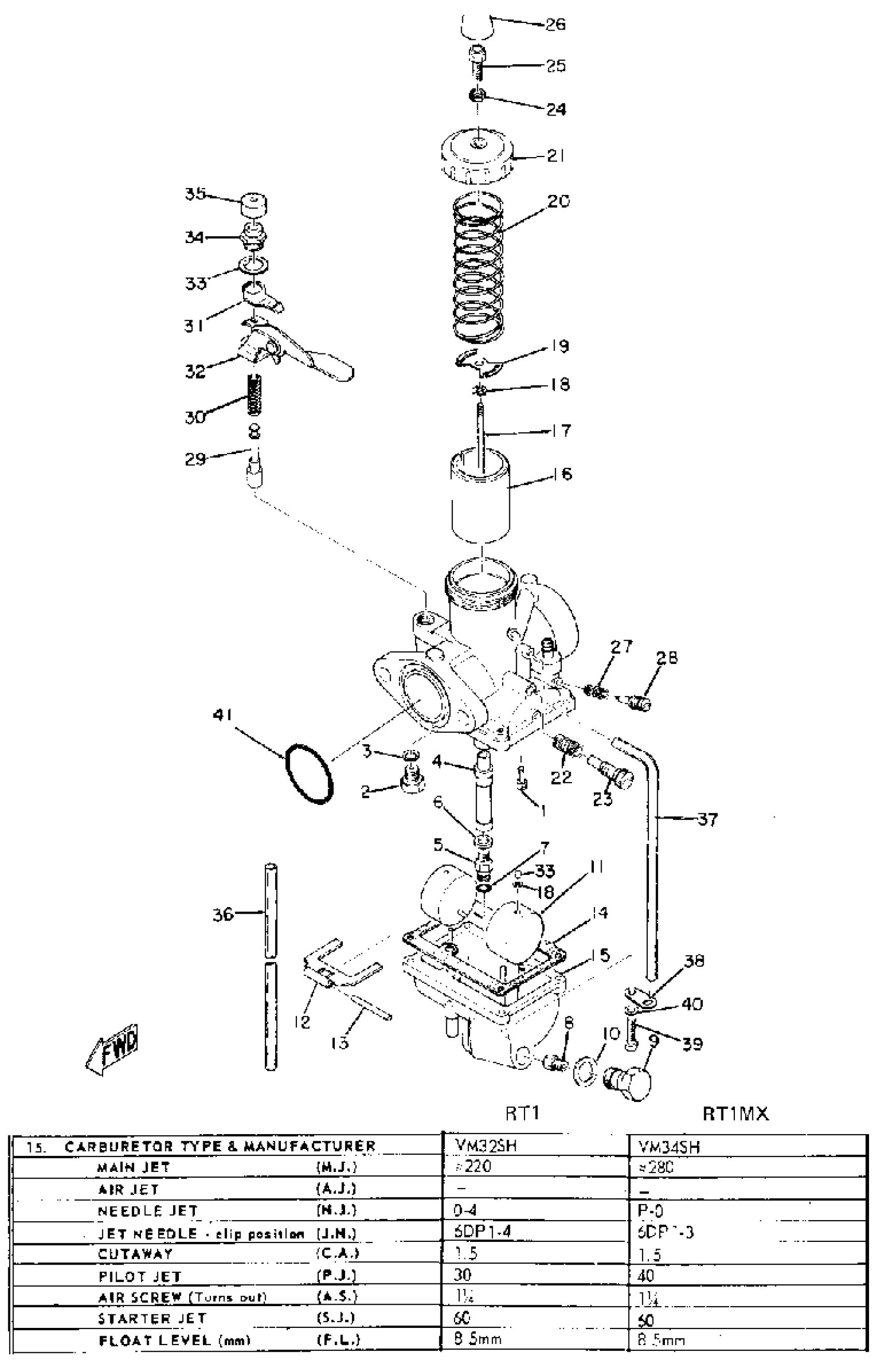
CARBURETOR
Yamaha RT1M (RT1) 1970 CARBURETOR Diagram
#
1
JET, PIL0T (# 30)
193-14142-30-A0
Unavailable
1
. JET, PILOT #40
193-14142-40-A1
Unavailable
1
CARBURETOR ASSEMBLY 1
(275-14101-60-00)
Unavailable
1
CARBURETOR ASSEMBLY 1
(284-14101-60-00)
Unavailable
3
. WASHER, NEEDLE VALVE
136-14195-00-00
Unavailable
4
NOZZLE, MAIN
(275-14141-34-00)
Unavailable
4
NOZZLE, MAIN
(284-14141-40-00)
Unavailable
5
. SETTER, NEEDLE JET
214-14145-00-00
Unavailable
8
JET, MAIN #210
137-14143-42-A1
Unavailable
8
JET, MAIN #250
137-14143-50-A1
Unavailable
8
JET, MAIN #260
137-14143-52-00
Unavailable
8
JET, MAIN #270
137-14143-54-A1
Unavailable
8
JET, MAIN #280
137-14143-56-A0
Unavailable
8
JET, MAIN #290
137-14143-58-A1
Unavailable
8
JET, MAIN #300
137-14143-60-A0
Unavailable
9
. BOLT, BANJO
(214-14166-00-00)
Unavailable
10
GASKET
286-14198-00-00
Unavailable
11
. FLOAT
275-14185-00-00
Unavailable
12
. ARM, FLOAT
214-14187-00-00
Unavailable
13
PIN, FLOAT
127-14186-00-00
Unavailable
14
GASKET, FLOAT CHAMBER
500-14184-00-00
Unavailable
15
BODY, FLOAT CHMBR 1
(275-14181-12-00)
Unavailable
16
VALVE, THROTTLE 1
(275-14112-15-00)
Unavailable
17
. NEEDLE
275-14116-01-00
Unavailable
18
. UNAVAILABLE IN PRICE BOOK
164-14107-00-00
Unavailable
19
. SEAT, SPRING
239-14136-00-00
Unavailable
20
SPRING, THRTL VALVE
(275-14131-00-00)
Unavailable
21
. TOP, MIXING CHAMBER
239-14158-00-00
Unavailable
22
SPRING, THROTTLE STOP
137-14133-00-00
Unavailable
23
THROTTLE SCREW SET
40T-14103-00-00
Unavailable
24
NUT, WIRE ADJUSTING
802-14161-00-00
Unavailable
25
CABLE ADJUST SCREW SET
12G-14106-00-00
Unavailable
26
CAP
8A7-14169-00-00
Unavailable
27
SPRING, AIR ADJUSTING
127-14134-00-00
Unavailable
28
AIR SCREW SET
23X-14104-00-00
Unavailable
29
. PLUNGER, STARTER
174-14171-00-00
Unavailable
30
. SPRING, PLUNGER
256-14135-00-00
Unavailable
31
. PLATE, STARTER LEVER
275-14178-00-00
Unavailable
32
LEVER, STARTER 1
(275-14175-00-00)
Unavailable
33
CAP
214-14118-00-00
Unavailable
34
. CAP, PLUNGER
802-14174-00-00
Unavailable
35
. COVER, PLUNGER CAP
802-14173-00-00
Unavailable
36
HOSE (L200)
90445-05N13-00
Unavailable
37
PIPE
23F-14197-00-00
Unavailable
38
PLATE
132-14146-00-00
Unavailable
39
SCREW, PAN HEAD(GA5)
98580-04014-00
Unavailable
40
YBS67-4 WASHER, SPRING
92990-04100-00
Unavailable
41
. O-RING
93210-37140-00
Unavailable
