- Partiron
- OEM Parts
- Yamaha
- motorcycle
- 1996
- RT180H (RT180) 1996
FRONT MASTER CYLINDER
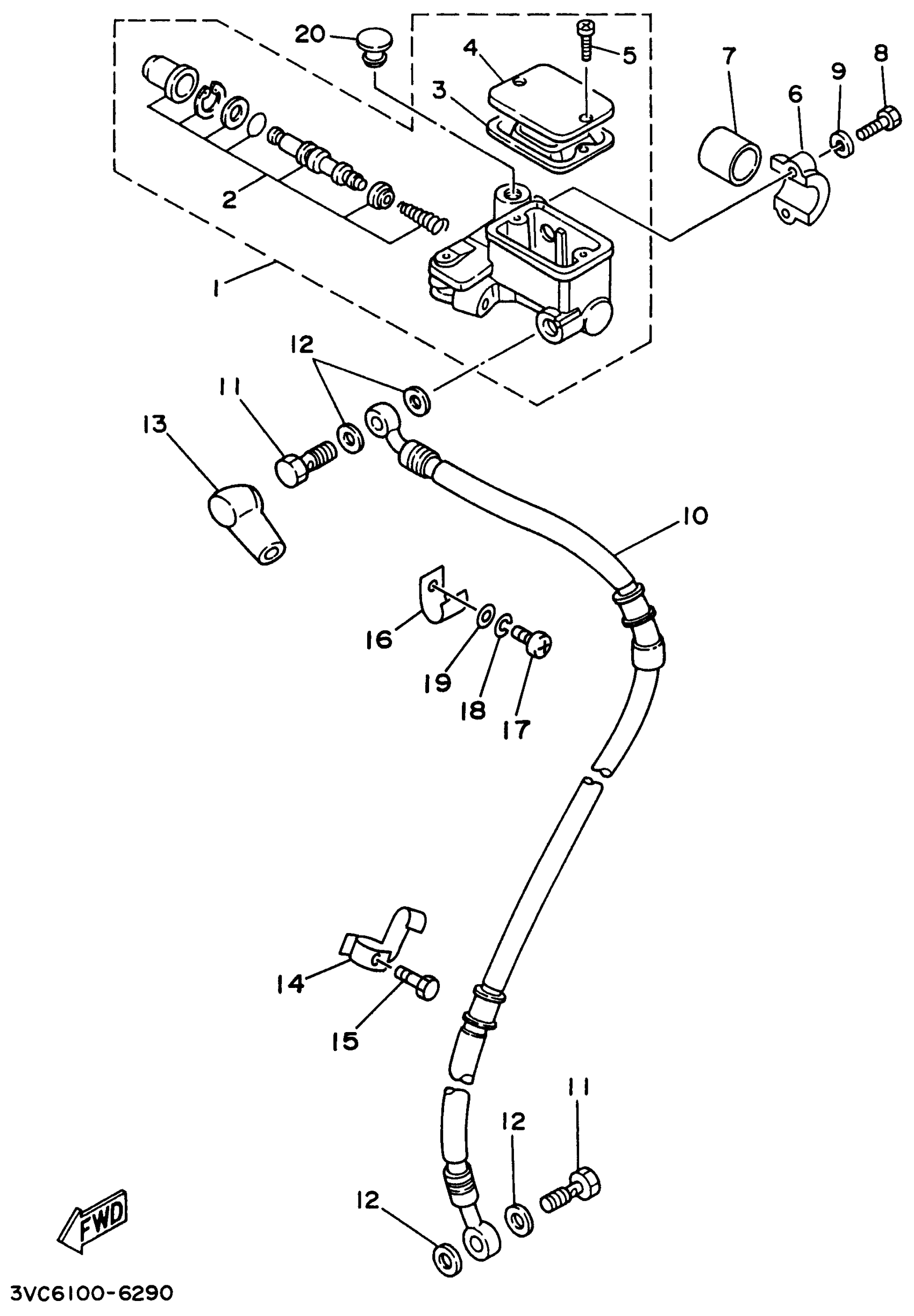
Yamaha RT180H (RT180) 1996 FRONT MASTER CYLINDER Diagram
#
Description
Price
1
MASTER CYLINDER SUB ASSY
39F-25870-00-00
Unavailable
2
CYL KIT,MASTER
5VK-25807-00-00
Unavailable
4
CAP, RESERVOIR (FRONT)
2KF-25852-02-00
Unavailable
6
BRACKET, MASTER CYLINDER
4L0-25867-00-00
Unavailable
7
SPACER
90560-22807-09
Unavailable
10
HOSE,BRAKE 1
2TW-F5872-19-00
Unavailable
12
WASHER, PLATE
90201-10886-00
Unavailable
13
BOOT, MASTER CYLINDER
3V9-F5862-00-00
Unavailable
14
HOLDER, CABLE 1
4BN-F3318-00-00
Unavailable
16
HOLDER, BRAKE HOSE 1
4BN-F5875-00-00
Unavailable
17
SCREW, PANHEAD W/WASHER (22F)
90159-06082-00
Unavailable
18
WASHER, SPRING
92907-06100-00
Unavailable
19
WASHER, PLATE 8221447500
90201-06057-00
Unavailable
20
CAP
2WL-F5825-00-00
Unavailable
