- Partiron
- OEM Parts
- Yamaha
- motorcycle
- 1991
- RT180B (RT180) 1991
FRONT MASTER CYLINDER
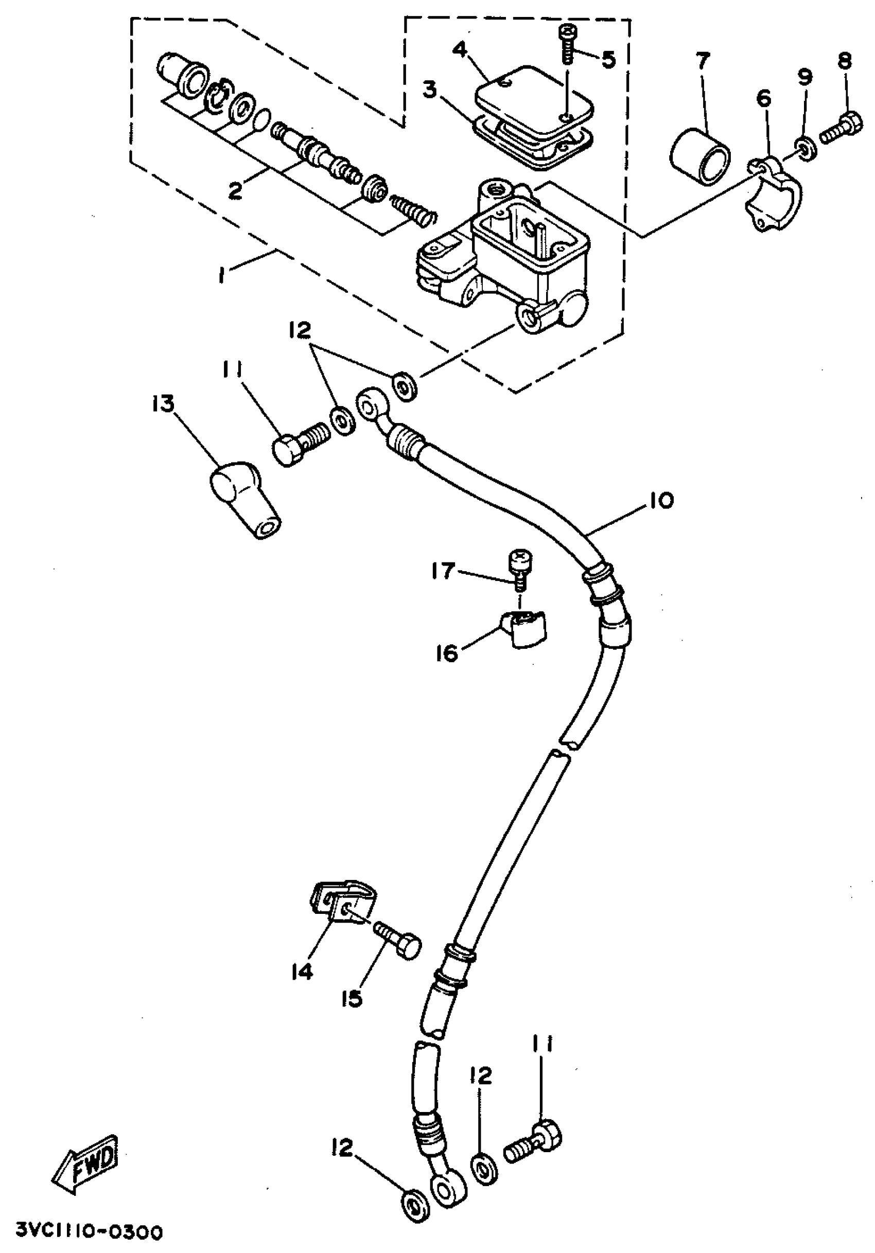
Yamaha RT180B (RT180) 1991 FRONT MASTER CYLINDER Diagram
#
Description
Price
1
MASTER CYLINDER ASSY
5CG-2583T-12-00
Unavailable
2
CYL KIT,MASTER
5VK-25807-00-00
Unavailable
4
CAP, RESERVOIR (FRONT)
2KF-25852-02-00
Unavailable
10
HOSE,BRAKE 1
2TW-F5872-09-00
Unavailable
12
WASHER, PLATE
90201-10886-00
Unavailable
13
BOOT, MASTER CYLINDER
3V9-F5862-00-00
Unavailable
14
HOLDER, BRAKE HOSE 1
3EN-25875-20-00
Unavailable
16
HOLDER, BRAKE HOSE 1
2TW-F5875-00-00
Unavailable
17
BOLT M6
9702N-06012-00
Unavailable
