- Partiron
- OEM Parts
- Yamaha
- motorcycle
- 1990
- RT180A (RT180) 1990
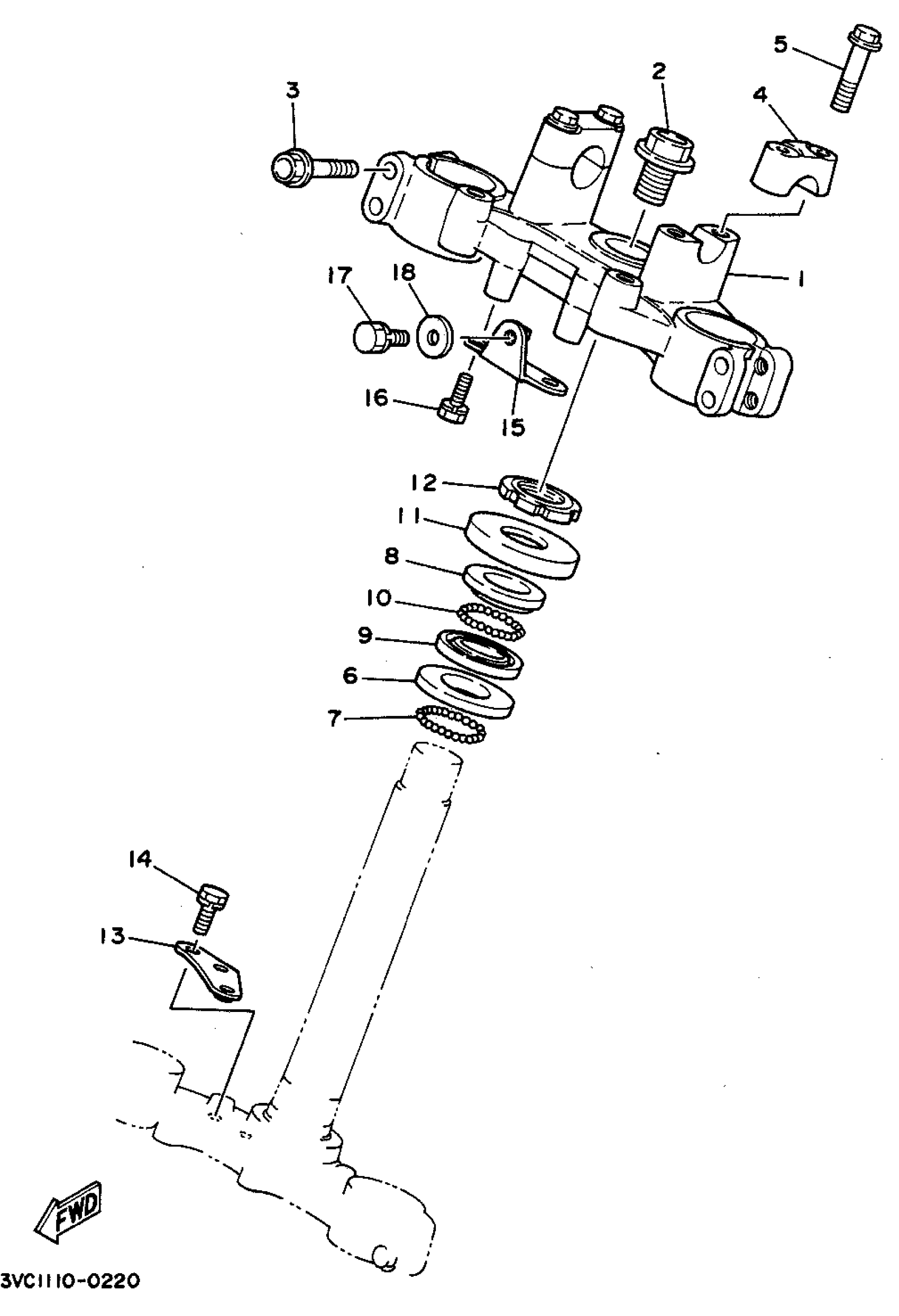
STEERING
Yamaha RT180A (RT180) 1990 STEERING Diagram
#
Description
Price
1
CROWN, HANDLE
2TW-F3435-00-00
Unavailable
7
BALL
93501-04803-00
Unavailable
11
COVER BALL RACE
10V-23416-01-00
Unavailable
13
STAY, PLATE
3VC-F3486-00-00
Unavailable
15
STAY, PLATE
3VC-F3487-00-00
Unavailable
17
SCREW, PAN HEAD WI
9760N-06116-00
Unavailable
18
WASHER, PLATE
90201-06380-00
Unavailable
