- Partiron
- OEM Parts
- Yamaha
- motorcycle
- 1990
- RT180A (RT180) 1990
OIL PUMP
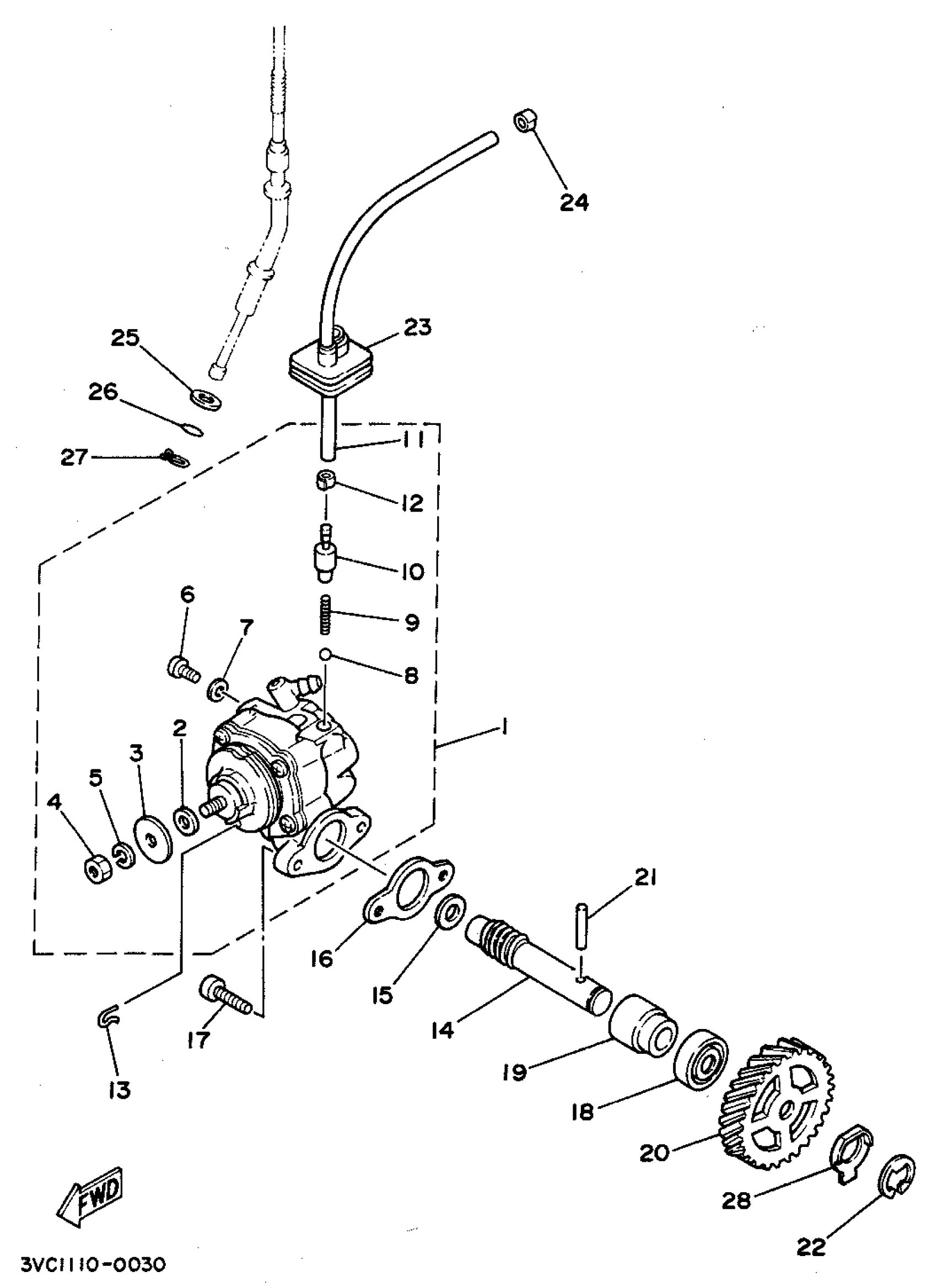
Yamaha RT180A (RT180) 1990 OIL PUMP Diagram
#
Description
Price
1
OIL PUMP ASSY
525-13101-01-00
Unavailable
3
PLATE, ADJUSTING
137-13138-01-00
Unavailable
6
SCREW, BIND
98980-04008-00
Unavailable
10
NOZZLE
402-13552-00-00
Unavailable
13
CLIP
2H3-E3133-00-00
Unavailable
14
SHAFT, WORM
2H3-E3175-01-00
Unavailable
15
WASHER, PLATE (1E7)
90201-08624-00
Unavailable
16
GASKET, PUMP CASE
502-E3116-00-00
Unavailable
17
SCREW, PAN HEAD(6B0)
97885-05016-00
Unavailable
18
OIL SEAL (10X22X7-137)
93101-10002-00
Unavailable
19
METAL, WORM SHAFT OUTER
2H3-E3176-00-00
Unavailable
20
GEAR, PUMP DRIVE
23K-E3178-00-00
Unavailable
21
PIN, SPRING
91609-25020-00
Unavailable
22
CIRCLIP(2R6)
99001-08600-00
Unavailable
23
HOLDER, OIL PIPE
5L9-E3174-00-00
Unavailable
25
.. WASHER, PLATE
92990-08600-00
Unavailable
26
O-RING
93210-07800-09
Unavailable
27
CIRCLIP (2A6)
90468-08086-00
Unavailable
28
WASHER, LOCK
90215-10253-00
Unavailable
