Partiron

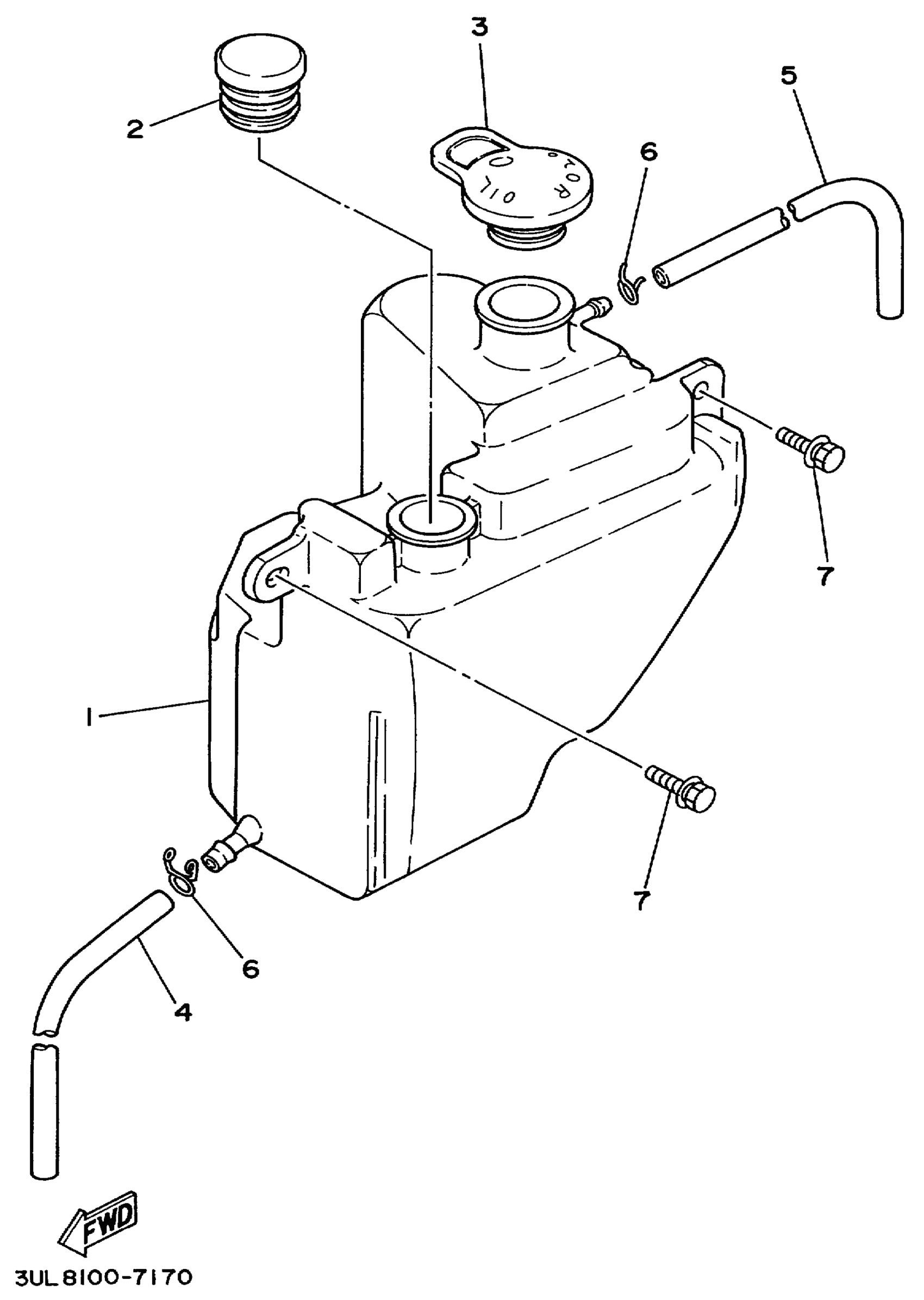
Yamaha RT100L (RT100) 3ULA 1999 OIL TANK Diagram

#

Description
Price

1

TANK, OIL

1T9-21751-00-00

Unavailable

2

BODY, CAP

3M2-21771-00-00

Unavailable

3

BODY, CAP

1T9-21771-01-00

$7.99

4

HOSE (L420)

90445-092K1-00

$12.49

5

HOSE (L420)

90445-092K1-00

$12.49

6

CLIP 101235600

90467-08003-00

$10.49

7

BOLT, WITH WASHER(81H)

90119-06118-00

$8.49