- Partiron
- OEM Parts
- Yamaha
- motorcycle
- 1996
- RT100H (RT100) 1996
CARBURETOR
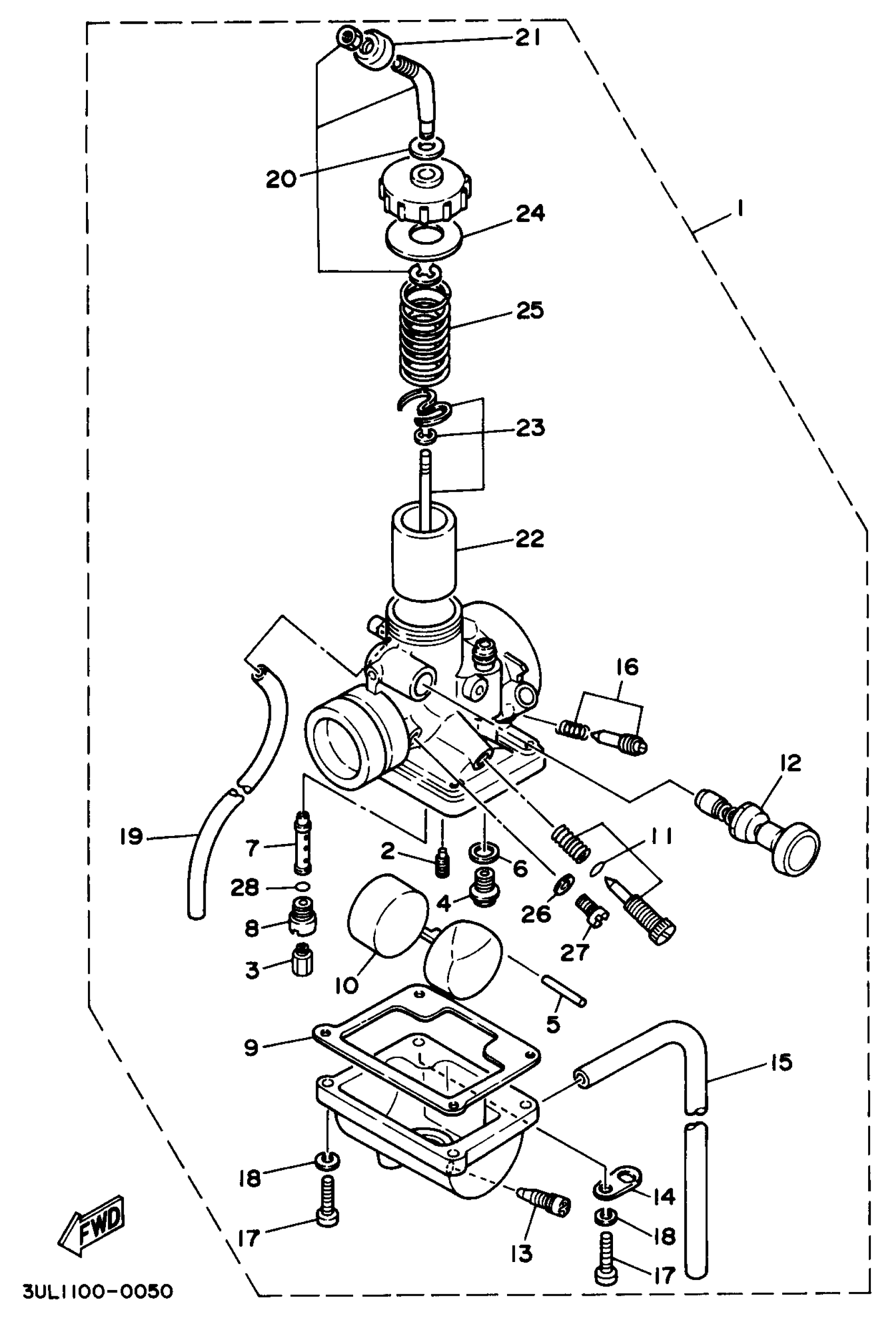
Yamaha RT100H (RT100) 1996 CARBURETOR Diagram
#
Description
Price
1
CARBURETOR ASY 1
3UL-14101-01-00
Unavailable
2
JET, PILOT (# 17.5)
260-14142-17-00
Unavailable
3
JET, MAIN #135
137-14143-27-00
Unavailable
3
JET, MAIN #140
137-14143-28-A0
Unavailable
3
JET, MAIN #145
137-14143-29-A0
Unavailable
4
VALVE SEAT ASSY
353-14190-15-00
Unavailable
7
NOZZLE, MAIN
2F5-14141-36-00
Unavailable
8
HOLDER
2N4-14145-00-00
Unavailable
11
. THROTTLE SCREW SET
3UL-14103-00-00
Unavailable
12
PLUNGER, STARTER
4U5-14171-00-00
Unavailable
14
PLATE
132-14146-00-00
Unavailable
15
PIPE
23F-14197-00-00
Unavailable
16
. AIR SCREW SET
25V-14104-00-00
Unavailable
17
SCREW, PAN HEAD
98517-04016-00
Unavailable
18
YBS67-4 WASHER, SPRING
92990-04100-00
Unavailable
19
PIPE
23F-14197-00-00
Unavailable
20
CABLE ADJUST SCREW SET
10X-14106-00-00
Unavailable
21
CAP
3X3-14169-00-00
Unavailable
22
VALVE,THROTTLE 1
53V-14112-20-00
Unavailable
23
. NEEDLE SET
3UL-1490J-00-00
Unavailable
24
GASKET
193-14126-00-00
Unavailable
25
SPRING, THROTTLE VALVE
3X3-14131-00-00
Unavailable
26
.. WASHER, PLUG SCREW
584-14956-00-00
Unavailable
27
. PLUG, SCREW
2F5-14115-00-00
Unavailable
28
O-RING
214-14147-00-00
Unavailable
