- Partiron
- OEM Parts
- Yamaha
- motorcycle
- 1995
- RT100G (RT100) 1995
OIL PUMP
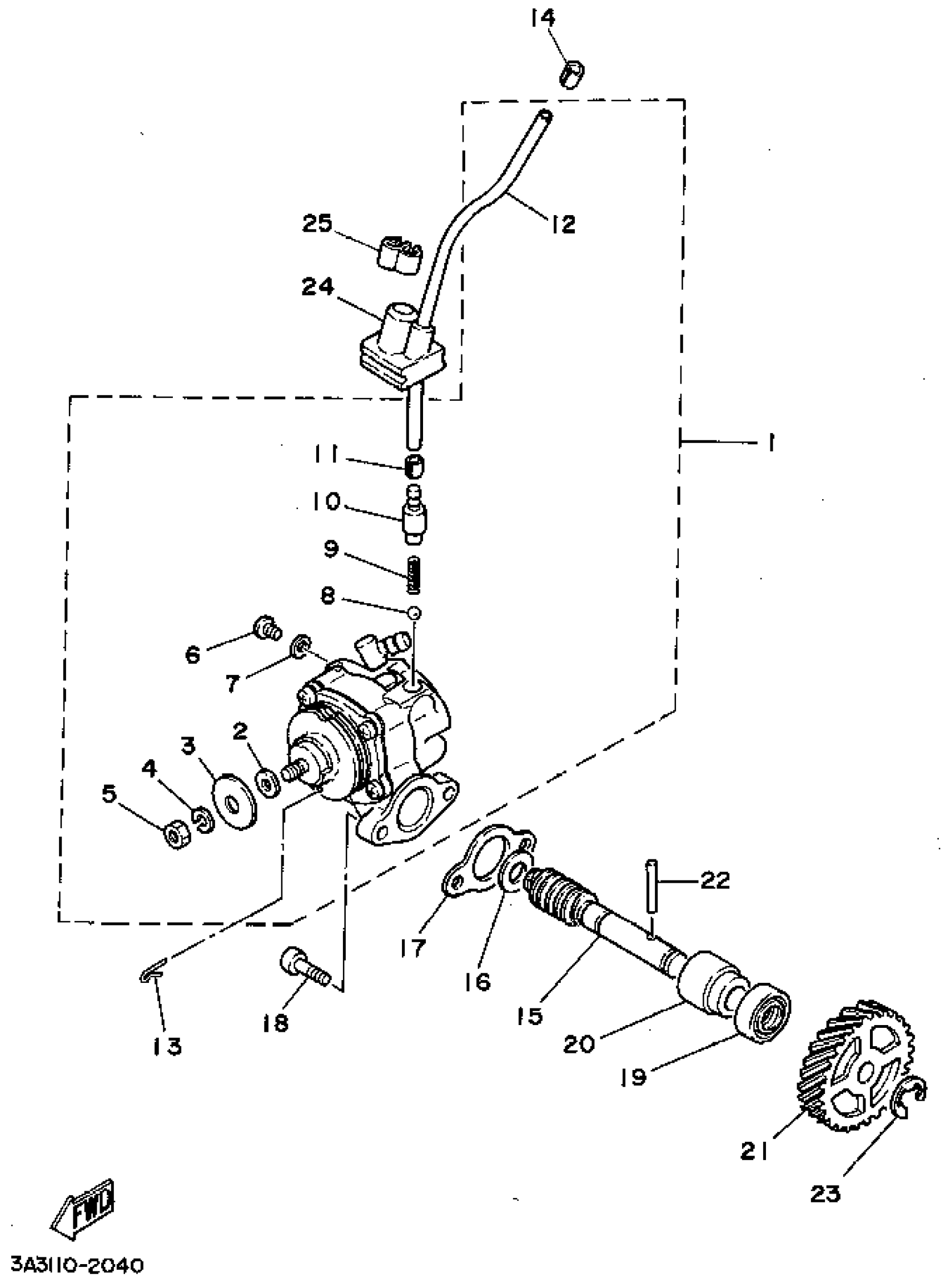
Yamaha RT100G (RT100) 1995 OIL PUMP Diagram
#
Description
Price
1
OIL PUMP ASSY
3UL-13101-00-00
Unavailable
3
PLATE, ADJUSTING
137-13138-01-00
Unavailable
10
NOZZLE
402-13552-00-00
Unavailable
15
SHAFT, WORM
275-13175-02-00
Unavailable
16
WASHER, PLATE (1E7)
90201-08624-00
Unavailable
17
GASKET, PUMP CASE
126-13116-01-00
Unavailable
18
SCREW, PAN HEAD(JJ6)
98507-05016-00
Unavailable
19
OIL SEAL (10X22X7-137)
93101-10002-00
Unavailable
20
METAL, WORM SHAFT OUTER
137-13176-00-00
Unavailable
21
GEAR, DRIVE
248-13178-00-00
Unavailable
22
PIN,DOWEL (137)
93603-22028-00
Unavailable
23
CIRCLIP(2R6)
99001-08600-00
Unavailable
24
HOLDER OIL PIPE
525-13174-01-00
Unavailable
25
CLIP (867)
90468-15020-00
Unavailable
