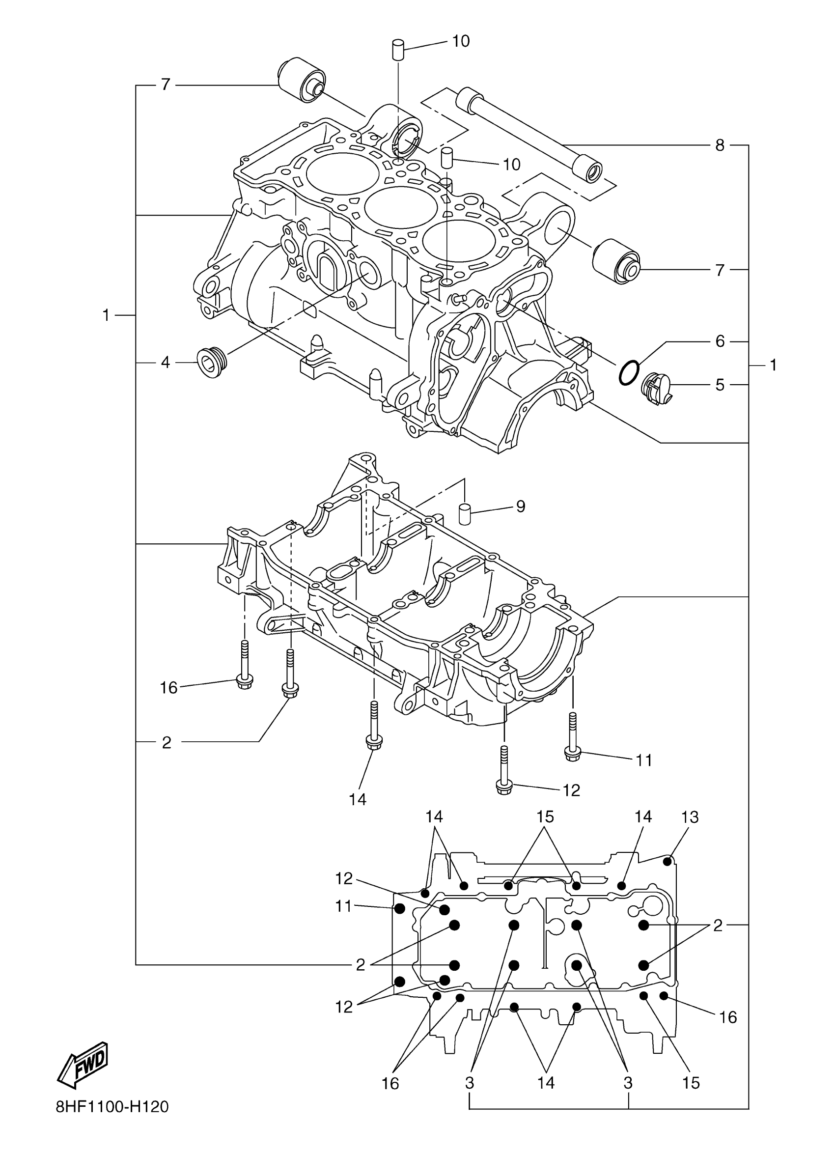
Yamaha RST90GTYS (RS VENTURE GT) 8HF10 2009 CRANKCASE Diagram
#
Description
Price
1
CRANKCASE ASSY
8GL-15109-09-00
Unavailable
7
DAMPER
8FA-2139X-00-00
Unavailable
8
SPACER
8ES-21459-00-00
Unavailable
16
BOLT, FLANGE
95817-06080-00
Unavailable
