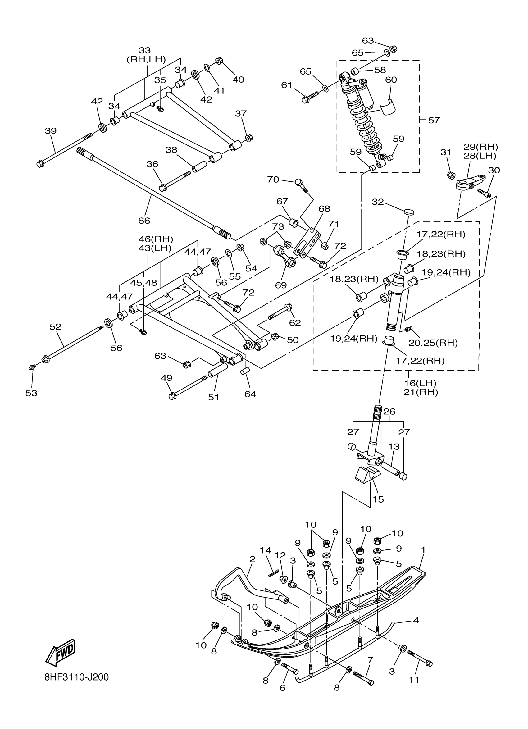
Yamaha RST90GTAL (RS VENTURE GT) 8HF50 2011 SKI Diagram
#
2
BLACK 8DM HANDLE PLASTIC
8DM-23712-00-BK
Unavailable
3
. COLLAR 1
8EX-F3754-00-00
Unavailable
4
SKI RUNNER KIT
SMA-F3731-EK-00
Unavailable
5
BUSH, SKI 1
8EK-F3751-00-00
Unavailable
16
STEERING KNUCKLE ASSY (LEFT)
8ES-23501-10-00
Unavailable
17
BUSH, SOLID
90381-25115-00
Unavailable
18
BUSH, SOLID
90381-15N50-00
Unavailable
19
BUSH, SOLID
90381-18N51-00
Unavailable
20
NIPPLE, GREASE
93700-06M03-00
Unavailable
21
STEERING KNUCKLE ASSY (RIGHT)
8ES-23502-10-00
Unavailable
22
BUSH, SOLID
90381-25115-00
Unavailable
23
BUSH, SOLID
90381-15N50-00
Unavailable
24
BUSH, SOLID
90381-18N51-00
Unavailable
25
NIPPLE, GREASE
93700-06M03-00
Unavailable
26
COLUMN, SKI ASSY
8ES-23803-00-00
Unavailable
27
BUSH, BIMETAL FORMED
90384-16N51-00
Unavailable
28
ARM, OUTSIDE 1
8FA-23851-00-00
Unavailable
29
ARM, OUTSIDE 2
8FA-23852-00-00
Unavailable
30
BOLT, HEXAGON SOCKET HEAD
90110-08N53-00
Unavailable
31
NUT, SELF-LOCKING
90185-08169-00
Unavailable
32
CAP, CASE
3YK-22472-40-00
Unavailable
33
FRONT UPPER ARM COMP.
8JA-23540-00-00
Unavailable
34
BUSH, SOLID
90381-15N50-00
Unavailable
35
NIPPLE, GREASE
93700-06M03-00
Unavailable
36
BOLT, FLANGE
90105-10N51-00
Unavailable
38
COLLAR
90387-10099-00
Unavailable
39
BOLT, FLANGE
90105-10N54-00
Unavailable
41
WASHER, PLATE (17K)
90201-106F2-00
Unavailable
42
WASHER
90209-15N50-00
Unavailable
43
FRONT LOWER ARM COMP. (LEFT)
8JA-23570-00-00
Unavailable
44
BUSH, SOLID
90381-16N51-00
Unavailable
45
NIPPLE, GREASE
93700-06M03-00
Unavailable
46
FRONT LOWER ARM COMP. (RIGHT)
8JA-23580-00-00
Unavailable
47
BUSH, SOLID
90381-16N51-00
Unavailable
48
NIPPLE, GREASE
93700-06M03-00
Unavailable
49
BOLT, FLANGE
90105-12N54-00
Unavailable
50
NUT, U FLANGE
95607-12200-00
Unavailable
51
COLLAR
90387-12N54-00
Unavailable
52
BOLT, UNION
90401-10043-00
Unavailable
53
NIPPLE, GREASE
93700-06M03-00
Unavailable
55
WASHER, PLATE (17K)
90201-106F2-00
Unavailable
56
WASHER
90209-15N50-00
Unavailable
57
ABSORBER ASSY 1
8HF-2376A-00-00
Unavailable
58
DAMPER, BUSH B
8FA-2331R-00-00
Unavailable
59
BUSH, BIMETAL FORMED
90384-15N51-00
Unavailable
60
LABEL, WARNING
4AA-22259-60-00
Unavailable
61
BOLT, WASHER BASED (4K0)
90105-10169-00
Unavailable
62
BOLT, WASHER BASED(59V)
90105-10392-00
Unavailable
64
COLLAR
90387-10N59-00
Unavailable
65
WASHER, PLATE (17K)
90201-106F2-00
Unavailable
66
BAR, STABILIZER FRONT
8FG-2386E-00-00
Unavailable
67
BUSH, STABILIZER FRONT
8FG-2386G-00-00
Unavailable
68
ARM, STABILIZER
8FG-2386L-00-00
Unavailable
69
JOINT, STABILIZER 1
8ES-2385L-00-00
Unavailable
70
BOLT, HEXAGON (538)
90101-06278-00
Unavailable
71
NUT, U FLANGE
95604-06200-00
Unavailable
72
BOLT, FLANGE(4FM)
95814-08030-00
Unavailable
73
NUT, U FLANGE(4KG)
95604-08200-00
Unavailable
