Yamaha RST1NTFMW (RS VENTURE TF) 8JVB 2021 OIL TANK Diagram
#
Description
Price
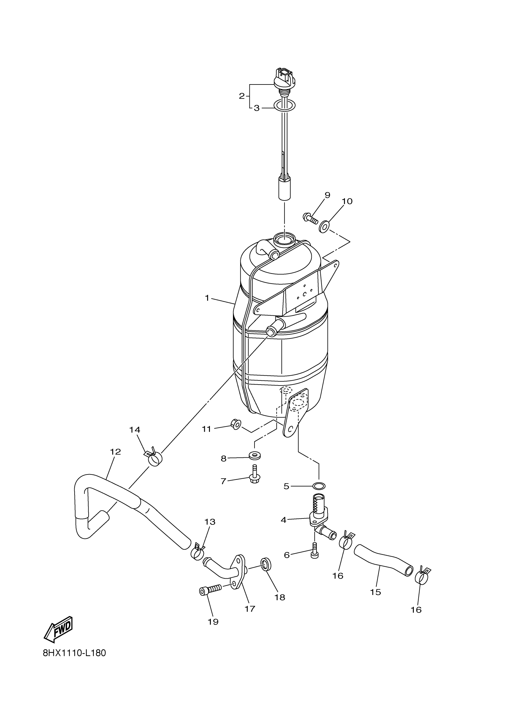
12
HOSE, OIL 1
8GM-13464-00-00
Unavailable
15
HOSE, OIL 2
8HF-13465-00-00
Unavailable
17
CONNECTOR, SUCTION PIPE
8ES-13115-00-00
Unavailable
18
O-RING (26H)
93210-16629-00
Unavailable
