Partiron

Yamaha RS90GTL (VECTOR GT) 8GG1 2006 GUARD LUGGAGE BOX Diagram

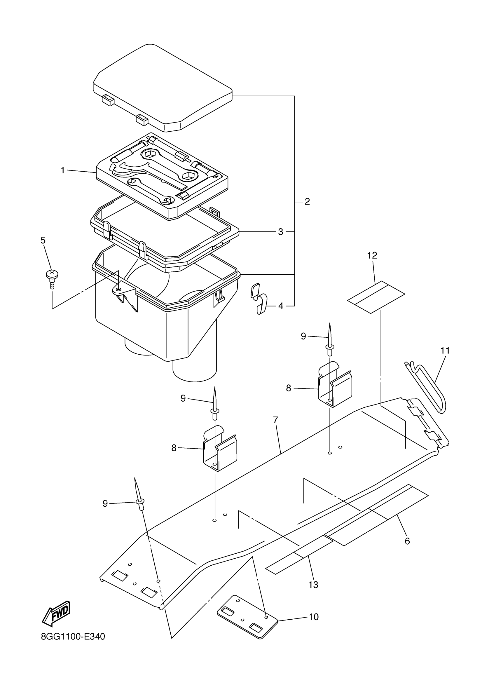
#

Description
Price

1

TOOL KIT

8FU-28100-10-00

Unavailable

2

LUGGAGE BOX ASSY

8FA-77390-00-00

$130.99

3

BOX, TOOL

8FA-77381-00-00

Unavailable

4

HOOK

8FA-2814E-00-00

$10.99

5

SCREW, BINDING

90154-06009-00

$4.61

6

LABEL 1

8ES-47578-00-00

Unavailable

7

GUARD, DRIVE

8FA-77311-02-00

Unavailable

8

STAY, BELT

8CR-77338-00-00

$5.49

9

RIVET, BLIND

90267-48010-00

$9.49

10

PROTECTOR

8FA-77373-00-00

Unavailable

11

PIN

8CR-77384-01-00

$16.49

12

LABEL, WARNING 2

8BD-77762-00-00

$7.99

13

LABEL, CAUTION

8ES-1417E-00-00

Unavailable