- Partiron
- OEM Parts
- Yamaha
- snowmobile
- 2008
- RS90GTAXW (RS VECTOR GT 40TH ANNIVERSARY) 8HC3 2008
CARBURETOR
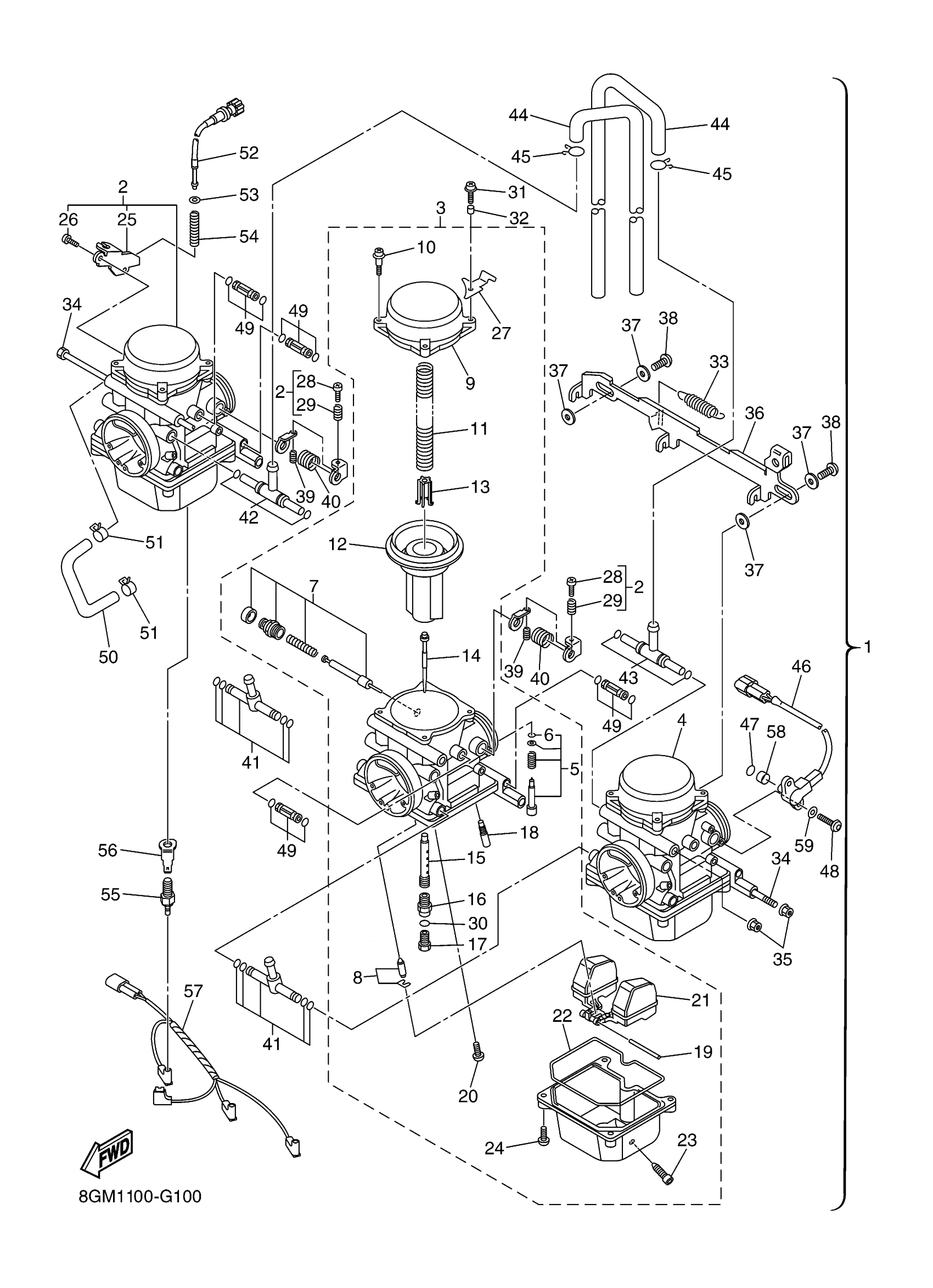
Yamaha RS90GTAXW (RS VECTOR GT 40TH ANNIVERSARY) 8HC3 2008 CARBURETOR Diagram
#
2
CARBURETOR ASSY 1
8ES-14901-01-00
Unavailable
3
CARBURETOR ASSY 2
8ES-14902-01-00
Unavailable
11
SPRING, DIAPHRAGM
8ES-14933-00-00
Unavailable
13
SEAT, SPRING
4JH-14936-00-00
Unavailable
15
JET, NEEDLE
8ES-14947-00-00
Unavailable
16
PIPE, MAIN BREED
8ES-1414G-00-00
Unavailable
17
JET, MAIN (#145)
3TJ-14943-36-00
Unavailable
17
JET, MAIN (#150)
3TJ-14943-37-00
Unavailable
17
JET, MAIN
3TJ-14943-87-00
Unavailable
18
JET (#40)
8ES-14948-03-00
Unavailable
18
JET (#45)
8ES-14948-05-00
Unavailable
18
JET (#48)
8ES-14948-06-00
Unavailable
18
JET (#50)
8ES-14948-07-00
Unavailable
19
. PIN, FLOAT ARM
663-14548-00-00
Unavailable
20
SCREW, PAN HEAD (713)
98580-04008-00
Unavailable
21
FLOAT
8ES-14985-00-00
Unavailable
22
GASKET, FLOAT CHAMBER
8ES-14984-00-00
Unavailable
23
PLUG, DRAIN
3TJ-14191-40-00
Unavailable
24
SCREW, PAN HEAD(GA5)
98580-04014-00
Unavailable
25
BRACKET, THROTTLE 1
8ES-14926-01-00
Unavailable
26
SCREW
8ES-14592-09-00
Unavailable
27
BRACKET, THROTTLE 1
4TV-14926-00-00
Unavailable
28
SCREW
5JG-14565-00-00
Unavailable
29
SPRING, ADJUST SCREW
5JG-14531-00-00
Unavailable
30
O-RING
3TJ-14564-40-00
Unavailable
31
SCREW
8ES-14565-00-00
Unavailable
32
COLLAR
4JH-14264-00-00
Unavailable
33
SPRING
8ES-14935-00-00
Unavailable
34
BOLT, HOLDING
8ES-14162-00-00
Unavailable
35
NUT, FLANGE
95704-05500-00
Unavailable
36
LEVER, STARTER
8ES-14965-00-00
Unavailable
37
COLLAR
8ES-14578-00-00
Unavailable
38
SCREW
8ES-14567-00-00
Unavailable
39
SPRING, THROTTLE STOP
4YR-14133-00-00
Unavailable
40
SPRING
4JH-14487-00-00
Unavailable
41
PIPE, FUEL
8ES-14295-00-00
Unavailable
42
JOINT 1
8ES-13815-00-00
Unavailable
43
JOINT 2
8ES-13816-00-00
Unavailable
44
PIPE
8ES-14197-01-00
Unavailable
45
CLIP
3TJ-14937-40-00
Unavailable
46
THROTTLE SENSOR ASSY
8ES-85885-01-00
Unavailable
47
O-RING
4TV-14562-00-00
Unavailable
48
SCREW, PAN HEAD(6G8)
98507-04010-00
Unavailable
49
JOINT
8ES-14454-00-00
Unavailable
50
HOSE
8ES-14987-00-00
Unavailable
51
. CLIP
4TV-12486-00-00
Unavailable
52
. ADJUST SCREW SET
8GM-14503-00-00
Unavailable
53
WASHER, PLATE(65J)
90201-05552-00
Unavailable
54
SPRING, THROTTLE STOP
8GM-14134-00-00
Unavailable
55
HEATER ASSY
5FU-83790-20-00
Unavailable
56
TERMINAL 1
8FA-82103-00-00
Unavailable
57
WIRE, SUB LEAD
8ES-81517-01-00
Unavailable
58
COLLAR
4TV-14534-00-00
Unavailable
59
WASHER(JF2)
92907-04600-00
Unavailable
