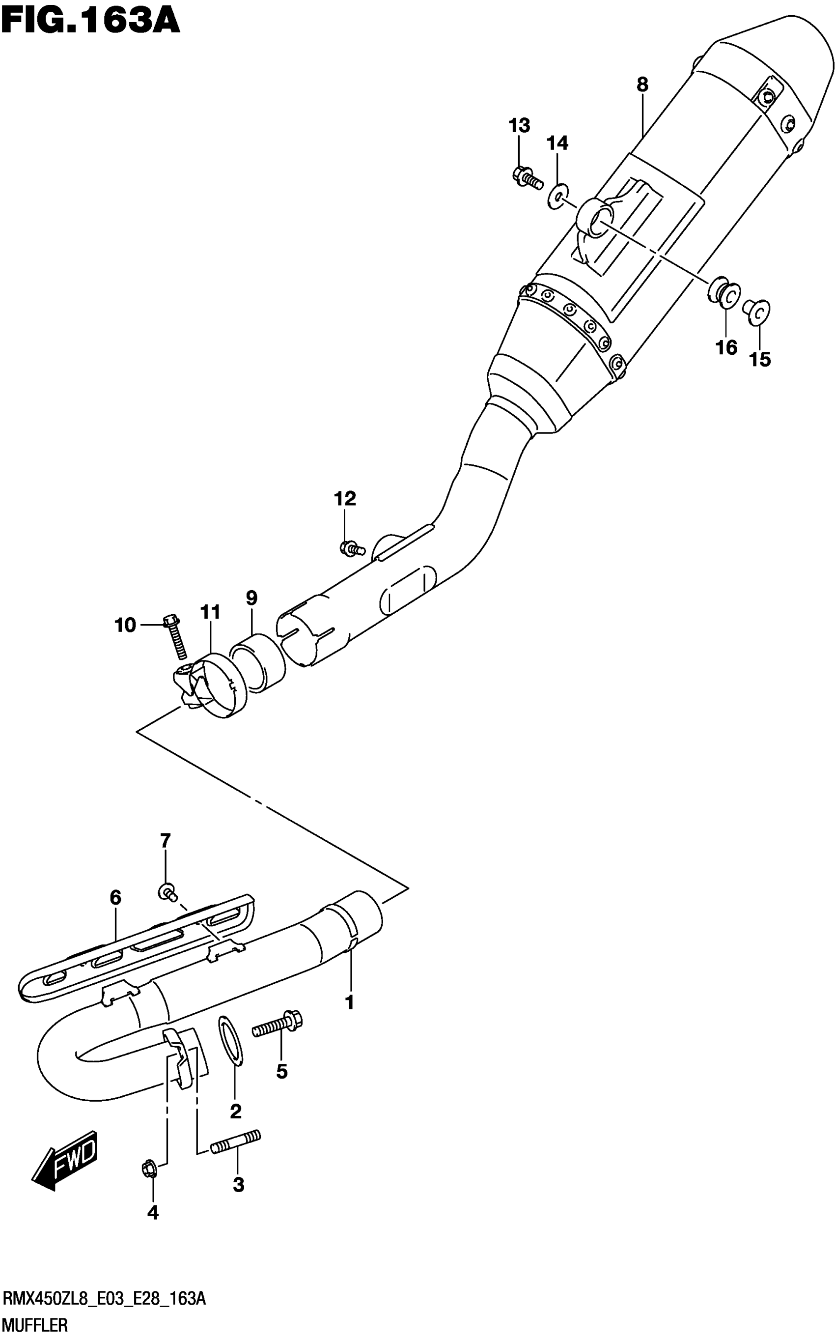
Suzuki RMX450ZL8 (2018) MUFFLER Diagram
#
Description
Price
1
PIPE
14150-02J00
Unavailable
8
BODY
14310-02J00-H01
Unavailable
#
1
14150-02J00
Unavailable
8
14310-02J00-H01
Unavailable
Edit ride
