Partiron

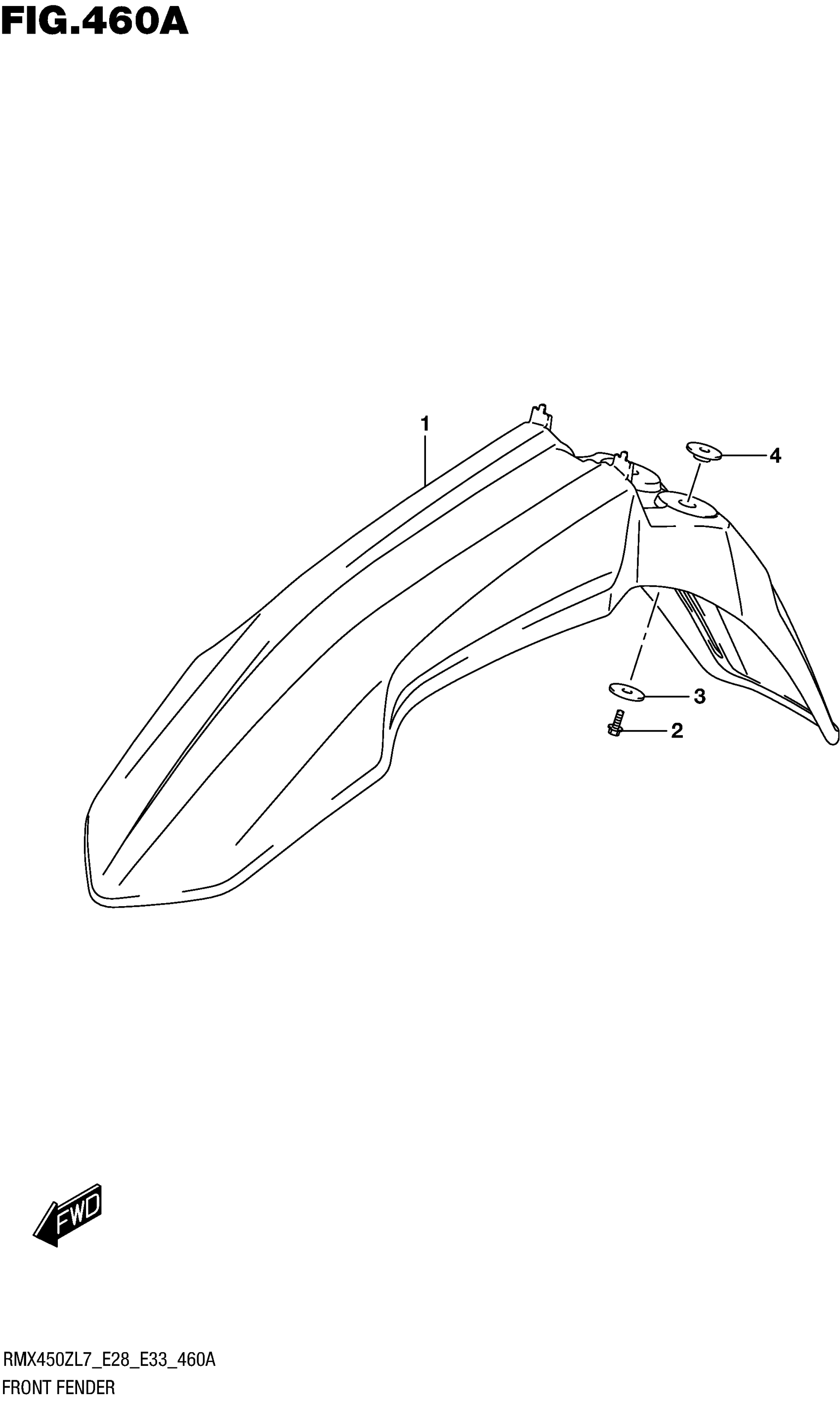
Suzuki RMX450ZL7 (2017) FRONT FENDER Diagram

#

Description
Price

1

FENDER, FRONT (YELLOW)

53111-28H00-YU1

$56.33

2

BOLT

01547-0616A

$2.03

3

WASHER, LOWER

44135-35G00

$11.36

4

WASHER | UPPER

09169-06078

$3.55