- Partiron
- OEM Parts
- Suzuki
- Motorcycle
- 2017
- RMX450ZL7 (2017)
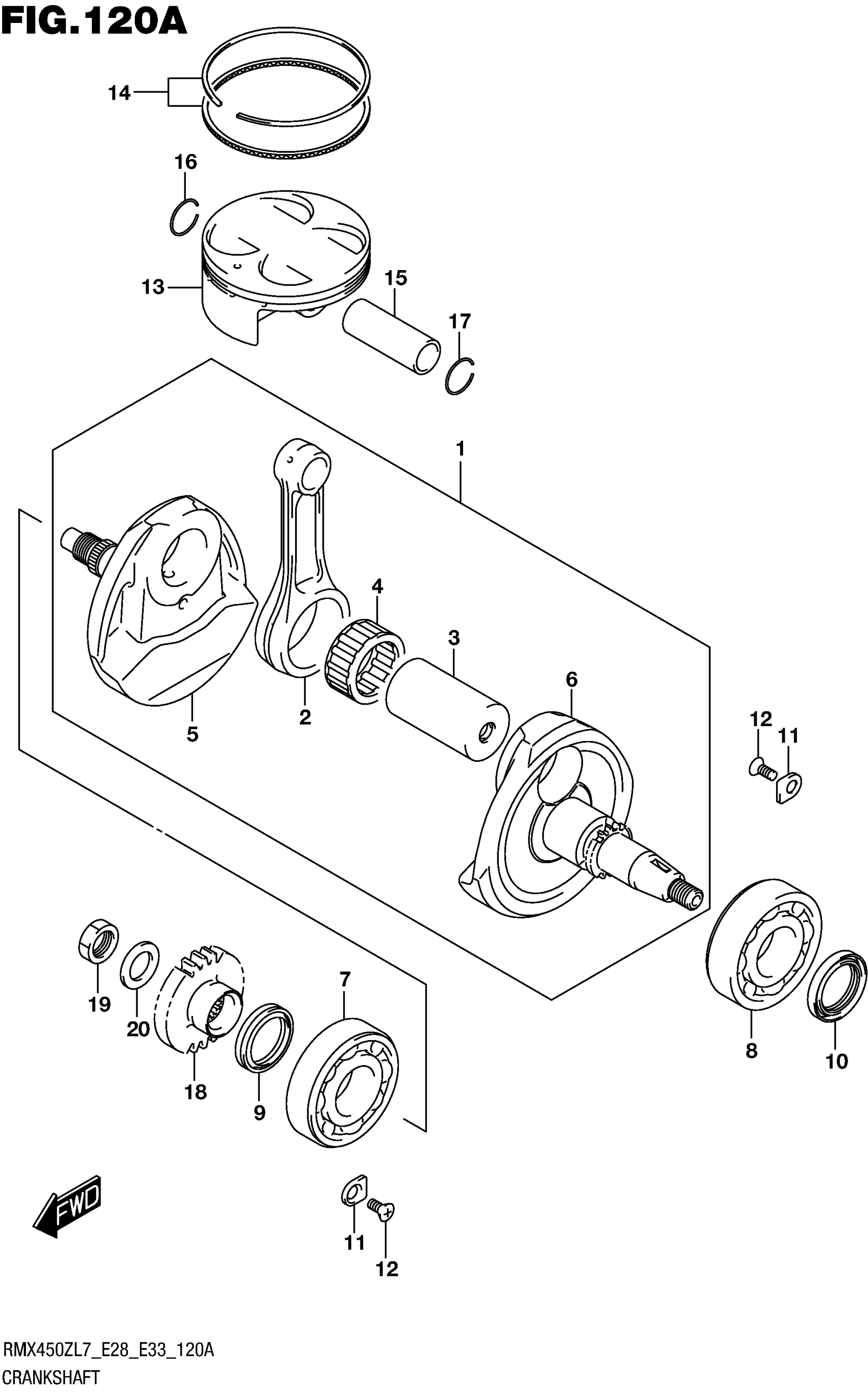
CRANKSHAFT
Suzuki RMX450ZL7 (2017) CRANKSHAFT Diagram
#
Description
Price
5
.CRANKSHAFT, RH
12220-02J00
Unavailable
6
.CRANKSHAFT, LH
12261-02J00
Unavailable
18
GEAR,PRIMARY DRIVE (NT:24)
21111-28H00
Unavailable
