Partiron

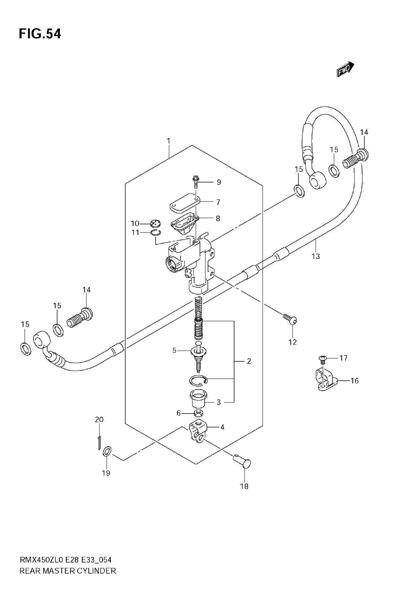
Suzuki RMX450ZL0 (2010) REAR MASTER CYLINDER Diagram

#

Description
Price

1

CYLINDER ASSY, REAR MASTER

69604-28H00

$309.27

2

.PISTON/CUP SET This part replaces 69600-35810.

69600-35812

$35.35

3

.BOOT

69691-00A00

$5.30

4

YOKE

69692-35G00

$21.77

5

ROD, PUSH

69670-28H00

$26.73

6

NUT

51212-77500

$7.05

7

CAP

69669-37F20

$39.48

8

DIAPHRAGM

69667-37F20

$16.18

9

SCREW

69689-37F30

$3.65

10

SEPARATOR

59748-36E00

$9.37

11

RING

69744-36E00

$4.02

12

BOLT (6X16)

09139-06139

$3.23

13

HOSE This part replaces 69480-28H00.

69480-28H02

$99.73

14

BOLT (10X1.25X22)

09360-10065

$8.92

15

WASHER (10X15X1.5)

09161-10009

$1.84

16

GUIDE RR BRAKE (HOLE 1-5.5) This part replaces 61196-27C30.

61196-27C50

$6.17

17

SCREW This part replaces 02142-0510A.

02142-0510B

$1.78

18

PIN

09200-08048

$2.92

19

WASHER

09160-08090

$2.39

20

PIN, COTTER

04111-2015A

$1.49