- Partiron
- OEM Parts
- Suzuki
- Motorcycle
- 1996
- RMX250T (1996)
TRANSMISSION
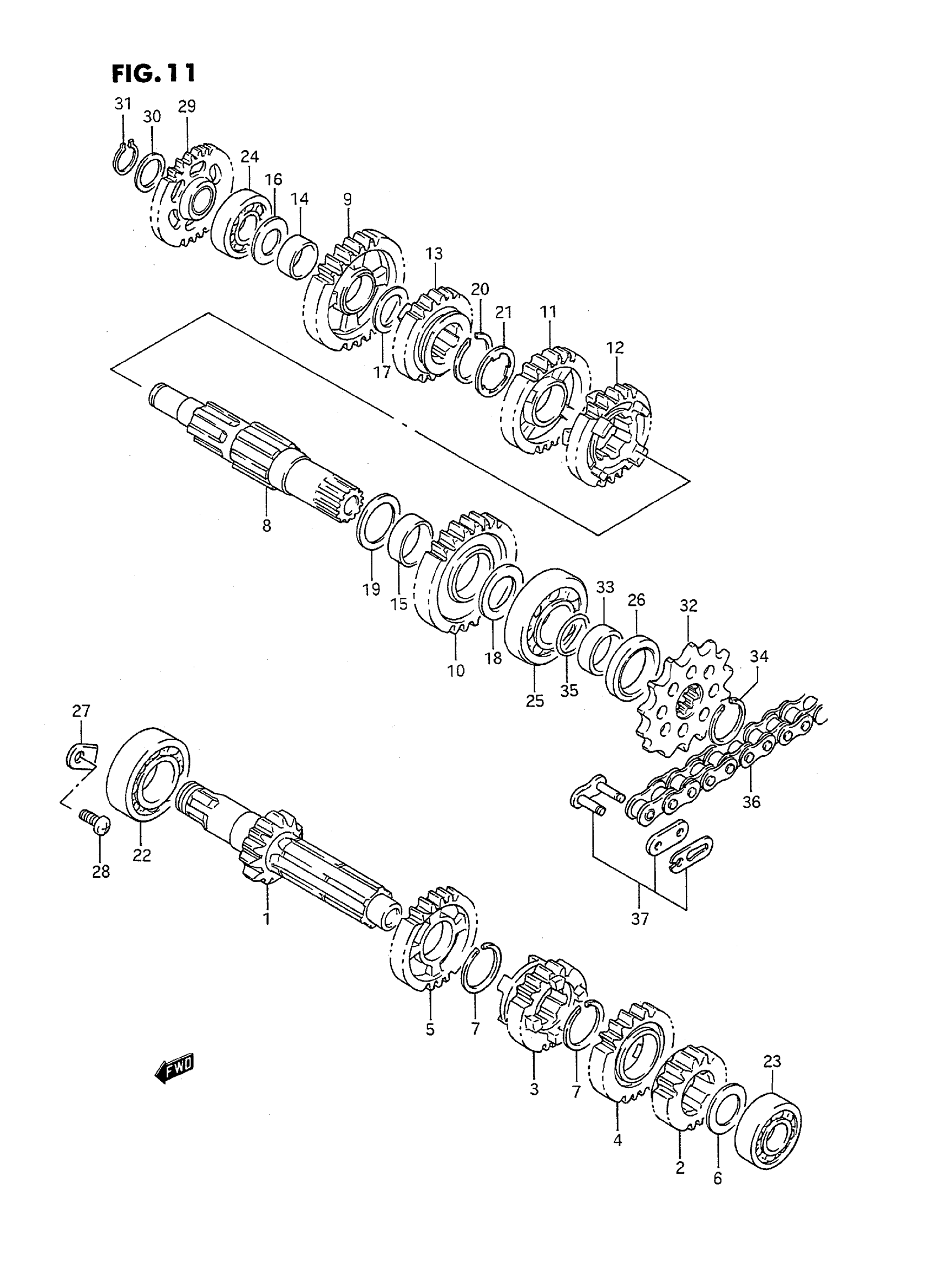
Suzuki RMX250T (1996) TRANSMISSION Diagram
#
Description
Price
1
COUNTERSHAFT (NT:14) | MODEL K/L/M/N This part replaces 24121-05D00.
24121-05D02
Unavailable
1
COUNTERSHAFT (NT:14) | MODEL P/R/S/T
24121-05D02
Unavailable
2
GEAR, 2ND DRIVE (NT:15)
24221-28C00
Unavailable
8
DRIVESHAFT
24131-05D00
Unavailable
13
GEAR, 5TH DRIVEN (NT:19) This part replaces 24351-05D00.
24351-05D01
Unavailable
18
WASHER (22X32X1.5) This part replaces 08211-22322.
09181-22212
Unavailable
25
BEARING, LH
09262-22023
Unavailable
29
GEAR, KICK IDLE (NT:27)
26260-05D00
Unavailable
32
SPROCKET, ENGINE (NT:13) | MODEL K/L/M/N/P/R/S This part replaces 27511-14310.
27511-37F00
$25.05
32
SPROCKET, ENGINE (NT:15) | OPT
27511-14320
Unavailable
36
CHAIN, DRIVE | Includes Item(s) 37 This part replaces 27600-05D20-114.
27600-06C20-114
Unavailable
37
JOINT, CHAIN (RK)
27620-05D00
Unavailable
